항공산업기사(2010. 3. 7.) 시험일자 : 2010년 3월 7일
1과목 : 항공역학
1. 비행기의 선회 반지름을 줄이기 위한 방법으로 옳은 것은?
- ① 선회각을 작게 한다.
- ② 선회속도를 작게 한다.
- ③ 날개면적을 작게 한다.
- ④ 중력 가속도를 작게 한다.
해설2021. 7. 3. 16:19삭제
선회반지름 공식(R) = V² / g tanθ 로 V는 선회속도, g는 중력 가속도, tanθ는 선회각을 말하며
이 공식에 따라 속도를 줄이면 선회반지름도 줄일 수 있다.
2. 날개의 상반각(Dihedral angle)을 갖고 있는 비행기가 왼쪽으로 옆미끄럼을 하게 되었을 때의 현상으로 옳은 것은?
- ① 왼쪽날개 및 오른쪽날개의 받음각이 동시에 증가한다.
- ② 왼쪽날개 및 오른쪽날개의 받음각이 동시에 감소한다.
- ③ 왼쪽날개의 받음각은 증가하고, 오른쪽날개의 받음각은 감소한다.
- ④ 왼쪽날개의 받음각은 감소하고, 오른쪽날개의 받음각은 증가한다.
해설2021. 7. 3. 16:21삭제
왼쪽으로 옆미끄럼을 하게 된 것은 좌측 날개가 우측 날개보다 상대적으로 받음각이 높아 좌측 날개의 상면의 항력이 커져 압력이 높아지게 된다.
좌측 날개 상면이 아랫면보다 상대적으로 높다 보니 위에서 아래로 누르는 힘이 발생이 되고 항공기는 왼쪽으로 옆미끄럼이 발생되는 원리가 된다.
3. 항공기의 활공각을 θ라 할 때, tanθ의 특성을 옳게 설명한 것은?
- ① 양항비와 비례한다.
- ② 고도와 반비례한다.
- ③ 양항비와 반비례한다.
- ④ 활공속도와 반비례한다.
해설2021. 7. 5. 21:29삭제
활공각(tanθ) = CD / CL = 1 / 양항비 이므로 양항비와 반비례 관계를 갖는다.
4. 정적 안정과 동적 안정의 관계에 대한 설명으로 가장 옳은 것은?
- ① 동적안정이 (+)이면 정적안정은 반드시 (+)이다.
- ② 동적안정이 (-)이면 정적안정은 반드시 (-)이다.
- ③ 정적안정이 (+)이면 동적안정은 반드시 (-)이다.
- ④ 정적안정이 (-)이면 동적안정은 반드시 (+)이다.
등록된 댓글이 없습니다.
5. 다음 중 날개 주위에서 경계층(Boundary Layer)의 박리(Separation)가 발생되는 조건은?
- ① 음속에 도달하였을 때
- ② 역압력구배가 형성될 때
- ③ 경계층이 정지되었을 때
- ④ 날개표면의 점성이 줄어들 때
등록된 댓글이 없습니다.
6. 가로세로비가 9 인사각날개의 시위길이가 1m 라면 스팬의 길이는 몇 m 인가?
- ① 3
- ② 4.5
- ③ 9
- ④ 18
해설2021. 5. 24. 22:46삭제
가로세로비(AR)는 b/c 즉, b는 스팬 길이, c는 시위 길이로
9 = b / 1이므로 b = 9 즉, 스팬 길이는 9m가 나온다.
7. 헬리콥터가 비행기처럼 고속으로 비행할 수 없는 이유가 아닌 것은?
- ① 후퇴하는 깃의 날개 끝 실속 때문에
- ② 후퇴하는 깃 뿌리의 역풍 범위 때문에
- ③ 전진하는 깃 끝의 마하수 영향 때문에
- ④ 전진하는 깃 끝의 항력이 감소하기 때문에
해설2021. 7. 3. 16:23삭제
헬리콥터가 비행기처럼 고속으로 비행할 수 없는 이유는 다음과 같다.
-후퇴 깃의 날개 끝 실속 때문
-후퇴 깃 뿌리의 역풍 범위 때문
-전진 깃 끝의 마하수 영향 때문
8. 헬리콥터 정지 비행시 회전면에 의해 가속되는 유도속도가 V1 이라면 회전면 후방으로 가속된 공기의 압력이 대기압 상태가 되었을 때 그 지점에서의 속도 V2 를 옳게 나타 낸 식은?
- ① V1 = V2
- ② V1 = 2V2
- ③ V1 = 4V2
- ④ V2 = 0
등록된 댓글이 없습니다.
9. 항공기 날개의 받음각(Angle of Attack)에 대한 설명으로 옳은 것은?
- ① 시위선과 평균캠버선이 이루는 각이다.
- ② 윗 캠버와 아래 캠버가 이루는 각이다.
- ③ 상대풍 방향과 시위선이 이루는 각이다.
- ④ 상대풍 방향과 평균캠버선이 이루는 각이다.
해설2021. 7. 3. 16:23삭제
날개 받음각(AOA:Angle of Attack)은 상대풍 방향과 시위선이 이루는 각을 말한다.
10. 해면고도에서 표준대기의 특성값으로 틀린 것은?
- ① 표준온도는 15 ℉ 이다.
- ② 밀도는 1.23 kg/m3 이다.
- ③ 대기압은 760 mmHg 이다.
- ④ 중력가속도는 32.2 ft/s2 이다.
해설2021. 5. 24. 22:45삭제
국가표준대기에서 규정한 표준온도는 15℃로 단위가 틀렸음
11. 항공기가 트림 상태(Trim condition)에 있다는 의미로 옳은 것은?
- ① 무게 중심에 관한 피칭 모멘트가 "0"인 상태
- ② 무게 중심에 관한 피칭 모멘트가 "1"인 상태
- ③ 무게 중심에 관한 피칭 모멘트가 감소하는 상태
- ④ 무게 중심에 관한 피칭 모멘트가 증가하는 상태
해설2021. 7. 3. 16:24삭제
항공기 각종 장치들의 평형과 중립을 맞추는 것을 트림이라 하며 트림 상태인 경우 무게 중심에 관한 모멘트가 0인 상태를 말한다.
12. 수평 비행중인 비행기의 항력이 추력보다 커진다면 비행기에 발생하는 현상은?
- ① 상승한다.
- ② 등속도 비행을 한다.
- ③ 감속전진 운동을 한다.
- ④ 가속전진 운동을 한다.
해설2021. 7. 3. 16:25삭제
수평 비행 중 항력이 추력보다 커지면 감속도 운동을, 반대로 추력이 항력보다 커지면 가속도 운동을 한 상태가 된다.
추력과 항력이 같을 경우에는 등속도 운동으로 본다.
13. 프로펠러가 항공기에 가해준 소요동력을 구하는 식은?
- ① 추력/비행속도
- ② 추력× 비행속도
- ③ 추력× 비행속도2/3
- ④ 추력× 비행속도2
등록된 댓글이 없습니다.
14. 대기가 안정하여 구름이 없고, 기온이 낮으며, 공기가 희박하여 제트기의 순항고도로 적합한 곳은?
- ① 대류권계면
- ② 열권계면
- ③ 중간권계면
- ④ 성층권계면
해설2021. 7. 3. 16:26삭제
대류권 계면은 대류권과 성층권의 경계면으로 편서풍이 불어 방향에 맞춰 비행을 하면 항공기 순항고도에 있어 최적의 연료소비율을 낼 수 있는 구간이기도 하다.
15. 중량이 2000 kgf 인 항공기가 20 m/s 로 비행할 때 양항비가 8 이라면 필요한 출력은 몇 kgfㆍ m/s인가?
- ① 4000
- ② 4500
- ③ 5000
- ④ 6000
등록된 댓글이 없습니다.
16. 지름이 각각 5cm 와 10cm 로 된 관에서 지름 10cm 관을 흐르는 유체의 속도가 1.4 m/s 일 때 지름 5cm 관내의 유체속도는 몇 m/s 인가?
- ① 2.6
- ② 3.6
- ③ 4.6
- ④ 5.6
등록된 댓글이 없습니다.
17. 100 lbs 의 항력을 받으며 200 mi/h 로 비행하는 비행기가 같은 자세로 300 mi/h 로 비행시 작용하는 항력은 몇lbs 인가?
- ① 225
- ② 230
- ③ 235
- ④ 240
등록된 댓글이 없습니다.
18. 무게 중심과 날개의 공기역학적 중심의 위치에 따른 정적안정과의 관계를 옳게 설명한 것은?
- ① 무게중심이 공기역학적 중심의 앞에 있는 경우 정적안정성이 좋다.
- ② 무게중심이 공기역학적 중심이 일치할 경우 정적안정성이 좋다.
- ③ 무게중심이 공기역학적 중심의 시위선 만큼 뒤에 있는 경우 정적안정성이 좋다.
- ④ 무게중심이 공기역학적 중심의 시위선 1/2 만큼 뒤에 있는 경우 정적안정성이 좋다.
해설2021. 7. 3. 16:27삭제
일반적으로 무게중심이 공기역학적 중심보다 앞에 위치한 음(-)의 값이 된 것이 안정성이 좋다.
19. 다음 중 가장 큰 조종력이 필요한 경우는?
- ① 비행속도가 빠르고 조종면의 크기가 큰 경우
- ② 비행속도가 빠르고 조종면의 크기가 작은 경우
- ③ 비행속도가 느리고 조종면의 크기가 큰 경우
- ④ 비행속도가 느리고 조종면의 크기가 작은 경우
등록된 댓글이 없습니다.
20. 날개골의 모양에 따른 특성 중 캠버에 대한 설명으로 틀린 것은?
- ① 캠버가 크면 양력은 증가하나 항력은 비례적으로 감소한다.
- ② 받음각이 0 도 일 때도 캠버가 있는 날개골은 양력을 발생한다.
- ③ 두께나 앞전 반지름이 같아도 캠버가 다르면 받음각에 대한 양력과 항력으 차이가 생긴다.
- ④ 저속비행기는 캠버가 큰 날개골을 이용하고 고속 비행기는 캠버가 작은 날개골을 사용한다.
해설2021. 7. 3. 16:28삭제
날개의 캠버가 증가하면 양력과 항력 모두 증가하게 된다.
2과목 : 항공기관
21. 체적을 일정하게 유지시키면서 단위질량을 단위온도로 높이는 데 필요한 열량을 무엇이라 하는가?
- ① 단열
- ② 정압비열
- ③ 비열비
- ④ 정적비열
해설2021. 7. 5. 21:33삭제
①비열:단위 질량의 물질을 단위 온도까지 올리는데 필요한 열량
②비열비:정압비열과 정적비열의 비로 정압비열이 정적비열보다 크다.
③정적 비열:체적이 일정한 상태에서 단위 질량의 물질을 단위 온도까지 올리는데 필요한 열량
④정압 비열:압력이 일정한 상태에서 단위 질량의 물질을 단위 온도까지 올리는데 필요한 열량
22. 실린더 내의 유입 혼합기 양을 증가시키며, 실린더의 냉각을 촉진시키기 위한 밸브 작동은?
- ① 흡입 밸브 래그
- ② 배기 밸브 래그
- ③ 흡입 밸브 리드
- ④ 배기 밸브 리드
등록된 댓글이 없습니다.
23. 1개의 정압과정과 1개의 정적과정 그리고 2개의 단열과정으로 이루어진 사이클은?
- ① 오토사이클
- ② 카르노사이클
- ③ 디젤사이클
- ④ 역카르노사이클
해설2021. 7. 5. 21:37삭제
①오토 사이클(정적 사이클):단열 압축-정적 연소-단열 팽창-정적 배기
②브레이턴 사이클(정압 사이클):단열 압축-정압 연소-단열 팽창-정압 방열
③카르노 사이클:단열 압축-등온 흡열-단열 팽창-등온 방열
④디젤 사이클:단열 압축-정압 가열-단열 팽창-정적 방열
24. 정속 프로펠러(Constant speed propeller)는 깃 각을 자동으로 변경하여 일정한 속도를 유지하는데 이런 역할을 하는 것은?
- ① 평형 스프링
- ② 조속기(Speed governor)
- ③ 쿼드란트 조종장치(Quadrant controller)
- ④ 거버너 릴리프 밸브(Governor relief valve)
해설2021. 7. 5. 21:48삭제
정속 프로펠러(Constant Speed Propeller)의 조속기(Governor)
정속 프로펠러는 비행 속도 변화에도 일정한 깃각을 유지할 수 있는 효율이 아주 우수한 프로펠러이며, 엔진 회전수에 따라 작동하는 조속기(Governor)는 플라이 웨이트(Fly Weight), 스피더 스프링(Speeder Spring), 파일럿 밸브(Pilot Valve) 등으로 구성되어 있다.
스피더 스프링은 조종실 Pitch Control Lever 각도에 따라 장력이 달라지며 Lever를 밀었을 시 스프링 장력은 세져 플라이 웨이트를 오므리고
반대로 Lever를 내리면 스프링 장력이 약해져 플라이 웨이트를 벌어지게 만든다.
이때 왕복엔진의 회전 속도가 빠를수록 조종사가 Pitch Control Lever를 밀어 Speeder Spring 장력을 세게 만들면 프로펠러 깃각은 High Pitch가 된다.
반대로 엔진의 회전속도가 느릴 경우 Pitch Control Lever를 내리면 Speeder Spring의 장력이 약해져 프로펠러를 Low Pitch로 만들어 속도에 따라 일정한 깃각을 만들도록 해준다.
25. 기관정격(Engine Rating)은 정해진 조건하에서 기관을 운전할 경우 보증되고 있는 기관의 성능값을 말하는데 다음중 이에 속하지 않는 것은?
- ① 이륙출력
- ② 최대연속출력
- ③ 최대하강출력
- ④ 사용가능연료 및 오일의 등급
해설2021. 7. 5. 22:05삭제
기관 정격(Engine Rating)
(1)이륙 정격(Take-Off Rating)
지상 또는 비행 상태에서 기관을 정해진 시간(보통 최대 5분간)에 추력을 연속하여 발생시키는 것이 보증되고 있는 최대의 성능 특성값, 또 물분사를 사용했을 때 정격을 Wet Takeoff Rating,사용하지 않을 때의 정격을 Dry Takeoff Rating으로 구별하고 있다.
(2)최대 연속 정격(Maximum Continuous Rating)
지상 또는 비행 상태에서 시간 제한없이 연속하여 내는 것이 보증되고 있는 기관의 최대 성능 특성값. 이륙 정격의 90% 전후의 출력으로 주로 긴급시에 사용된다.
(3)최대 상승 전격(Maximum Climb Rating)
상승시에 보증되고 있는 기관의 최대 성능 특성값. 최대 연속 정격과 동일 정격이 많다.
(4)최대 순항 정격(Maximum Cruise Rating)
순항시에 보증되고 있는 기관의 최대 성능 특성값. 보통 이륙 정격의 70~80% 전후의 출력이다.
(5)완속 정격(Idle Rating)
지상 또는 비행 상태에서 기관의 정해진 운전 가능한 최소 출력 상태. Idle은 추력 레버(Thrust Lever)를 Idle Position에 놓아야 한다.
26. 왕복기관에서 실린더 배기밸브의 과열을 방지하기위해 밸브내부에 삽입하는 물질은?
- ① 합성오일
- ② 수은
- ③ 금속나트륨
- ④ 실리카겔
해설2021. 7. 5. 21:55삭제
금속 나트륨(Sodium)
배기밸브는 흡입밸브보다 더 높은 온도에 접하게 되므로 밸브 스템 속에 금속 나트륨을 넣어서 비교적 낮은 온도에서 액체 상태로 녹아 냉각효과를 증대시킨다
27. 섭씨 15 ℃를 환산하였을 때 가장 옳게 나타낸 것은?
- ① 절대온도 59k
- ② 랭킨온도 59°R
- ③ 절대온도 518k
- ④ 랭킨온도 518°R
해설2021. 7. 6. 12:54삭제
9/5 (℃ + 32) = 9/5 (15 + 32) = 59℉
R = ℉ + 460 = 59 + 460 = 518R
28. 마그네토의 임펄스 커플링(Impulse coupling)의 주된 목적은?
- ① 시동시 마그네토의 부하를 흡수한다.
- ② 시동시 마그네토의 토크를 방지한다.
- ③ 시동시 마그네토의 밸브 타이밍을 조정한다.
- ④ 시동시 마그네토가 고속으로 회전하도록 도와준다.
해설2021. 7. 5. 22:08삭제
임펄스 커플링(Impulse Coupling)
시동 시 기관이 너무 천천히 회전하면 마그네토가 작동하지 않아 시동이 되지 않는데, 이러한 점을 보완하여 마그네토에 순간적으로 고속 회전 속도를 주어 지연점화를 시킨다.
29. 왕복기관을 장착한 비행기가 이륙한 후에도 최대 정격 이륙 출력으로 계속 비행하는 경우에 대한 설명으로 옳은 것은?
- ① 기관이 과열되어 비행이 곤란해진다.
- ② 공기흡입구가 결빙되어 출력이 저하된다.
- ③ 연료소모가 많지만 1시간 이내에서 비행할 수 있다.
- ④ 일반적으로 기관의 최대 출력을 증가시키기 위한 방법으로 자주 사용한다.
해설2021. 7. 5. 22:07삭제
이륙 출력은 이륙하기 위해 엔진에서 내는 최대 출력으로 엔진의 마모가 가장 심한 때이기도 하다. 따라서 1~5분간만 사용을 제한시킨다.
30. 가스터빈기관용 원심식 압축기에 대한 설명으로 틀린 것은?
- ① 시동 출력이 낮다.
- ② 단당 압축비가 높다.
- ③ 회전 속도 범위가 넓다.
- ④ 대형 기관과 주동력 장치에 주로 사용한다.
해설2021. 7. 5. 22:06삭제
고출력을 요구하는 대형기관과 주 동력 장치에는 다단으로 제작이 용이하여 효율을 높일 수 있는 축류식 압축기를 사용한다.
31. 가스터빈기관을 통해 지나는 공기흐름량이 322 lb/s 이고, 흡입구 속도가 600 ft/s, 출구속도가 800 ft/s 이면 발생하는 추력은 약 몇 lbs 인가?
- ① 2000
- ② 4000
- ③ 8000
- ④ 12000
해설2021. 7. 6. 12:53삭제
진추력 공식
Fn = Wa / g (Vj-Va)
Wa:유입 공기 중량, g:중력 가속도, Vj:배기가스 속도, Va:흡입공기 속도
Fn = 322 / 32.2 x (800-600) = 2000
32. 프로펠러에 빙결형성이 항공기의 비행성능에 미치는 영향으로 옳은 것은?
- ① 추력이 감소하고, 과도한 진동을 초래한다.
- ② 추력은 증가하지만, 과도한 진동이 발생한다.
- ③ 항공기 실속 속도가 감소하고, 소음이 증가한다.
- ④ 항공기 실속 속도가 증가하고, 소음이 감소한다.
해설2021. 7. 5. 22:09삭제
프로펠러로 추진력을 얻는 항공기는 프로펠러 표면에 결빙(Icing) 발생 시 프로펠러도 하나의 Airfoil이므로 층류 흐름이 난류로 변하면서 추력은 감소하게 되고 그로 인해 진동도 초래하게 된다.
33. 민간 대형 여객기에 적합한 터보팬 기관의 특징으로 옳은 것은?
- ① 초고속비행에 적합하며, 터보제트기관에 비해 추진효율은 나쁘다.
- ② 저속비행에 적합하며, 터보제트기관에 비해 추진효율이 우수하다.
- ③ 고속비행에 적합하며, 터보제트기관에 비해 추진효율이 우수하다.
- ④ 저속비행에 적합하며, 터보제트기관에 비해 추진효율은 나쁘다.
해설2021. 7. 5. 22:10삭제
현대 민간 항공기는 대부분 터보 팬 엔진이며 고바이패스비를 이용하여 2차 공기를 많이 뿜어내 추진효율 또한 우수한 성능을 보유하고 있다.
34. 공기의 밀도가 감소하는 고고도에서 항공기 왕복기관의 출력이 감소하는데 그 원인으로 가장 옳은 것은?
- ① 연료흐름 속도의 감소
- ② 연료/공기 혼합비의 과희박
- ③ 연료/공기 혼합비의 과농후
- ④ 기화기와 다기관 사이의 차압증가
해설2021. 7. 5. 22:11삭제
고도가 오르면 오를수록 공기가 희박해져 왕복엔진 내부 혼합비는 상대적으로 연료량이 많아져 농후 혼합비가 된다. 이러한 현상을 방지하기 위해 과급기(Supercharger)를 장착하여 사용하여 다량의 공기를 흡입하여 압축 후 흡입 매니폴드로 보내 출력손실을 방지한다.
35. 가변 스테이터 구조의 목적으로 옳은 것은?
- ① 동익의 회전속도를 일정하게 한다.
- ② 유입공기의 절대속도를 일정하게 한다.
- ③ 동익에 대한 유입공기의 받음각을 일정하게 한다.
- ④ 동익에 대한 유입공기의 상대속도를 일정하게 한다.
등록된 댓글이 없습니다.
36. 다음 중 점화플러그를 구성하는 주요부분이 아닌 것은?
- ① 전극
- ② 세라믹 절연체
- ③ 보상 캠
- ④ 금속 쉘(Shell)
해설2021. 7. 5. 22:12삭제
점화 플러그의 구성은 전극, 세라믹 절연체, 금속 셀(Shell)로 되어있다.
37. 가스터빈 연소실의 공기흡입구에 있는 선회 베인(Swirlvane)에 대한 설명으로 옳은 것은?
- ① 캔형 연소실에는 없다.
- ② 연소 영역을 길게 한다.
- ③ 1차 공기에 선회를 준다.
- ④ 연료노즐 부근의 공기속도를 빠르게 한다.
해설2021. 7. 6. 12:50삭제
선회깃(Swirl Guide Vane)
선회깃은 연소실 입구에 있으며 유입되는 1차 연소 공기에 선회를 주어 연소 시 화염전파속도 증가 및 안정적인 연소를 제공해준다.
38. 일반적으로 장거리를 순항하는 가스터빈기관 항공기의 가장 효율적인 고도를 36000 ft로 정한 이유는?
- ① 36000 ft가 가스터빈 기관 항공기의 비행에 알맞은 제트기류를 이루고 있기 때문이다.
- ② 36000 ft 이상부터는 기온이 일정해지고 기압이 강하하기 때문이다.
- ③ 36000 ft 이상부터는 기압과 기온이 급격히 강하하기 때문이다.
- ④ 36000 ft 이상부터는 기압이 일정해지고 기온이 강하하기 때문이다.
등록된 댓글이 없습니다.
39. 항공기 왕복기관에서 유입 공기에 의한 임팩트 압력 및 벤튜리에 의한 부압의 차이로 유입 공기량을 측정하는 방식의 기화기는?
- ① 압력 분사식 기화기
- ② 부자식 기화기
- ③ 경계 압력식 기화기
- ④ 충동식 기화기
등록된 댓글이 없습니다.
40. 가스터빈 기관의 연료조절 장치의 수감부분에서 수감하는 주요 작동변수가 아닌 것은?
- ① 기관의 회전수
- ② 압축기 입구 온도
- ③ 연료펌프의 출구 압력
- ④ 동력레버의 위치
해설2021. 5. 24. 23:01삭제
연료 조절 장치(FCU:Fuel Control Unit)는 항공기 엔진 작동 상태에 따라 최적의 상태를 유지할 수 있도록 연료량을 제어 및 조절한다. 이때 FCU가 수감하는 요소는 rpm, 압축기 입구 온도(CIT:Compressor Inlet Temperature), 압축기 출구 압력(CDP:Compressor Discharge Pressure), 동력 레버 각도(PLA:Power Lever Angle), 연소실 압력 등이 있다.
3과목 : 항공기체
41. 날개의 리브(Rib)에 중량 경감 구멍을 뚫는 주된 목적은?
- ① 크랙(Crack)의 확산을 방지하기 위해서
- ② 피로한도 및 내마모성을 향상시키기 위해서
- ③ 부재의 강성을 유지하면서 무게를 줄이기 위해서
- ④ 응력집중을 피하고, 하중 전달을 직선이 되도록 하기 위해서
해설2021. 5. 24. 22:59삭제
항공기 구멍(Hole) 종류 중 날개 구조 부재로 쓰이는 리브(Rib)에는 무게 경감 목적으로 Lightening Hole을 뚫어주는 작업을 한다.
42. Al 표면을 양극산화처리하여, 표면에 방식성이 우수하고 치밀한 산화 피막이 만들어지도록 처리하는 방법이 아닌 것은?
- ① 수산법
- ② 크롬산법
- ③ 황산법
- ④ 석출경화법
해설2021. 5. 24. 22:58삭제
양극산화처리는 알루미늄 합금을 전해액에 담근 후 다른 금속과 양극으로 만들어 이온화 작용 원리를 이용한 산화 피막을 입히는 방식으로 전해액 종류에 따라 황산법, 수산법, 크롬산법으로 나뉜다.
43. 2차원의 구조물에 미치는 힘을 해석할 때 정역학의 평형방정식(ΣF=0, ΣM=0)은 총 몇 개인가?
- ① 1
- ② 2
- ③ 3
- ④ 6
등록된 댓글이 없습니다.
44. 세미모노코크구조의 동체에 작용하는 전단하중을 주로 담당하는 부재는?
- ① 외피(Skin)
- ② 론저론(Longeron)
- ③ 스트링거(Stringer)
- ④ 벌크헤드(Bulkhead)
등록된 댓글이 없습니다.
45. 다음 중 비파괴 검사법이 아닌 것은?
- ① 방사선 투과검사
- ② 충격인성 검사
- ③ 초음파 탐상검사
- ④ 음향방출시험검사
해설2021. 5. 24. 22:57삭제
비파괴검사(NDI) 종류로는 육안검사, 침투탐상검사, 자분탐상검사, 와전류 검사, 방사선 검사, 초음파 검사, 음향방출시험 검사, 내시경 또는 보어스코프 검사 등이 있다.
46. 정밀공차볼트를 식별하기 위하여 볼트 머리에 표시된 기호는?
- ① 십자형 표시
- ② 원형 표시
- ③ 사각형 표시
- ④ 삼각형 표시
해설2021. 5. 24. 22:57삭제
정밀공차볼트는 볼트 머리에 삼각형으로 표시하여 작업자가 식별할 수 있도록 한다.
47. 다음과 같은 속도 하중배수(V-n)선도에서 실속속도를 가장 옳게 표현한 것은? (단, Vs 는 실속속도, n1 는 제한하중배수이다.)
- ①

- ②

- ③

- ④

등록된 댓글이 없습니다.
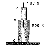
48. 다음과 같은 구조물에서 A-B 구간의 내력은 몇 N 인가?

- ① -400 N
- ② 400 N
- ③ -100 N
- ④ 100 N
등록된 댓글이 없습니다.
49. 다음 중 쥬스파스너(Dzus Fastener)의 구성품이 아닌 것은?
- ① 스터드(Stud)
- ② 그로멧(Grommet)
- ③ 리셉터클(Receptable)
- ④ 어크로스 슬리브(Across sleeve)
해설2021. 5. 24. 22:52삭제
턴 록 패스너(Turn Lock Fastener)에는 쥬스 패스너(Dzus Fastener), 에어 록 패스너(Air Lock Fastener), 캠 록 패스너(Cam Lock Fastener)가 있고 쥬스 패스너는 스터드, 그로멧, 리셉터클로 구성된다.
50. 굽힘모멘트를 받는 샌드위치 구조물의 무게를 최소로 하려면 외피와 코어(Core)의 무게 비로 가장 적합한 것은?
- ① 1:1
- ② 1:2
- ③ 2:1
- ④ 2:3
등록된 댓글이 없습니다.
51. 주로 날개, 동체, 착륙장치, 꼬리 날개 등의 구조부품을 매뉴얼 또는 규격에 따라 일치시키는 작업은?
- ① 세깅(Sagging)
- ② 호깅(Hogging)
- ③ 리깅(rigging)
- ④ 잭킹(Jacking)
등록된 댓글이 없습니다.
52. 일반적인 스티어 댐퍼(Steer damper)에 대한 설명으로 틀린 것은?
- ① 노스 휠의 스티어링을 한다.
- ② 시밍 현상을 제거하는 기능을 한다.
- ③ 유압으로 작동되며 두 가지의 분리된 기능을 한다.
- ④ 타이어의 충격을 흡수하며 브레이크 기능을 겸하고 있다.
해설2021. 7. 7. 12:31삭제
타이어의 충격을 흡수하는 것은 Oleo Strut라는 완충장치에 의해서, 브레이크 기능은 항공기 멀티디스크식 브레이크를 이용하여 제동 기능을 제공한다.
53. 다음 중 항공기의 유효하중을 옳게 설명한 것은?
- ① 항공기의 무게중심이다.
- ② 항공기에 인가된 최대무게이다.
- ③ 총무게에서 자기무게를 뺀 무게이다.
- ④ 항공기내의 고정위치에 실제로 장착되어 있는 하중이다.
등록된 댓글이 없습니다.
54. 두께가 0.051in 인 재료를 90° 굴곡에 굴곡반경 0.125in가 되도록 굴곡할 때 생기는 세트백(Set back)은 몇in인가?
- ① 2.450
- ② 0.276
- ③ 0.176
- ④ 0.088
해설2021. 7. 7. 12:33삭제
Set Back(S.B) 공식
tanθ/2(R+T) = tan(90/2) (0.125+0.051) = 0.176
55. 주로 18-8 스테인레스강에서 발생하며 부적절한 열처리로 결정립계가 큰 반응성을 갖게 되어 입계에 선택적으로 발생하는 국부적 부식을 무엇이라 하는가?
- ① 입계부식
- ② 응력부식
- ③ 찰과부식
- ④ 이질금속간의 부식
해설2021. 7. 7. 12:36삭제
입자간(입계) 부식(Intergranular Corrosion)
부적절한 여러리로 인한 합금 조직의 불균일성으로 나타나는 부식이며 알루미늄 합금과 스테인리스강에서 자주 발생한다.
이 부식이 발생하면 금속 표면에 나타난 가루를 보고 탐지가 가능하며 비파괴검사로는 초음파 검사나 와전류 검사를 이용하여 내부 조직에 대한 검사를 좀 더 정밀하게 수행해볼 수 있다.
56. 아이스박스 리벳인 2024(DD)를 아이스박스에 저온보관 하는 이유는?
- ① 리벳을 냉각시켜 경도를 높이기 위해
- ② 시효 경화를 지연시켜 연한 상태를 연장시키기 위해
- ③ 리벳의 열변화를 방지하여 길이의 오차를 줄이기 위해
- ④ 리벳을 냉각시켜 리벳팅 할 때 판재를 함께 냉각시키기 위해
해설2021. 5. 24. 22:55삭제
알루미늄 합금 특성 중 2017과 2024는 상온 노출 시 시효경화가 되는 특성이 있어 열처리 후 아이스박스에 보관하여 시효경화를 지연시켜 사용한다. 이러한 재질을 사용한 리벳을 Icebox Rivet이라고도 부른다.
57. 원형단면의 봉이 비틀림 하중을 받을 때 비틀림 모멘트에 대한 식으로 옳은 것은?
- ① 굽힘응력× 단면계수÷ 단면의 반지름
- ② 전단응력× 횡탄성계수÷ 단면의 반지름
- ③ 전단변형도× 단면오차모멘트÷ 단면의 반지름
- ④ 최대전단응력× 극관성모멘트÷ 단면의 반지름
등록된 댓글이 없습니다.
58. 2차 조종면(Secondary control surface)의 목적과 거리가 먼 것은?
- ① 비행중 항공기 속도를 줄인다.
- ② 1차 조종면에 미치는 힘을 덜어준다.
- ③ 항공기 착륙속도 및 착륙거리를 단축시킨다.
- ④ 항공기의 3축 운동을 시키는 주 모멘트를 발생시킨다.
해설2021. 5. 24. 22:54삭제
항공기 3축 운동을 발생시키는 조종면은 1차 조종면(Primary Flight Control Surfaces)이다.
59. 알루미늄이나 아연 같은 금속을 특수 분무기에 넣어 방식처리해야 할 부품에 용해 분착시키는 방법을 무엇이라 하는가?
- ① 질화법
- ② 메탈라이징
- ③ 양극처리
- ④ 본데라이징
해설2021. 7. 7. 12:35삭제
금속 분무(Metalizing)
철강재료의 부식 방지 처리 중 하나이며 철강재료 표면에 알루미늄이나 아연 같은 금속을 분무기에 넣어 용해 분착시키는 방법이다.
60. 기체 수리방법 중 크리닝 아웃(Cleaning Out)이 아닌 것은?
- ① 커팅(Cutting)
- ② 트리밍(Trimming)
- ③ 파일링(Filling)
- ④ 크린업(Clean up)
해설2021. 7. 7. 12:39삭제
클린 업(Clean Up)은 판재 모서리의 찌꺼기, 가장자리 부분의 날카로운 부분을 제거해주는 작업이다.
클리닝 아웃(Cleaning Out)에 포함되는 것은 Cutting, Trimming, Filing 등이 있다.
4과목 : 항공장비
61. 객실고도를 옳게 설명한 것은?
- ① 항공기 내부의 압력을 표준대기 상태의 압력에 해당되는 고도로 표현한다.
- ② 항공기 내부의 압력을 현 비행 상태의 압력에 해당되는 고도로 표현한다.
- ③ 항공기 외부의 압력을 표준대기 상태의 압력에 해당되는 고도로 표현한다.
- ④ 항공기 외부의 압력을 현 비행 상태의 압력에 해당되는 고도로 표현한다.
등록된 댓글이 없습니다.
62. 항공기를 구성하는 연철과 같은 철재에서 지자기가 감응되어 일시적으로 자기를 띠었다 잃었다 하는 현상에 의해 생기는 오차를 무엇이라고 하는가?
- ① 반원차
- ② 사분원차
- ③ 불이차
- ④ 와동오차
등록된 댓글이 없습니다.
63. 탄성 압력계의 수감부 형태에 해당되지 않는 것은?
- ① 흡입형 압력계
- ② 부르동형 압력계
- ③ 다이아프램형 압력계
- ④ 벨로우형 압력계
등록된 댓글이 없습니다.
64. 조종실의 온도변화에 따른 속도계 지시 보상방법으로 가장 적합한 것은?
- ① 진대기 속도값을 이용한다.
- ② 등가대기 속도값을 이용한다.
- ③ 바이메탈(Bimetal)에 의해서 보상된다.
- ④ 서멀스위치에 의해서 전기적으로 실시된다.
등록된 댓글이 없습니다.
65. 배기가스를 히터로 사용하는 계통에서 부품의 결함을 검사하는 방법으로 가장 효율적인 것은?
- ① 자기탐상검사를 주기적으로 실시한다.
- ② 주기적으로 일산화탄소 감지시험을 한다.
- ③ 기관 오버홀시 히터를 새것으로 교환한다.
- ④ 매100시간 마다 배기계통의 부품을 교환한다.
등록된 댓글이 없습니다.
66. 비상시 사용되는 배터리의 DC 전원을 AC 전원으로 전환 시켜주는 장치는?
- ① GPU(Ground Power Unit)
- ② APU(Auxiliary Power Unit)
- ③ 스태틱 인버터(static Inverter)
- ④ TRU(Transformer Rectifier Unit)
등록된 댓글이 없습니다.
67. 항공기 공압계통에서 스위치의 위치와 밸브의 위치가 일치 했을 때 점등하는 등(Light)은?
- ① Agreement Light
- ② Disagreement Light
- ③ Intransit Light
- ④ Condition Light
등록된 댓글이 없습니다.
68. 항공기가 운항하기 위해 필요한 음성 통신을 주로 어떤 장치를 이용하는가?
- ① GPS 통신장치
- ② ADF 수신기
- ③ VHF 통신장치
- ④ VOR 통신장치
등록된 댓글이 없습니다.
69. 항공기의 기내 방송(Passenger address) 중 제1순위에 해당되는 것은?
- ① 기내 음악 방송
- ② 조종실에서의 방송
- ③ 개별 좌석 방송
- ④ 객실 승무원의 방송
등록된 댓글이 없습니다.
70. EICAS(Engine Indication and Crew Alerting System)의 기능이 아닌 것은?
- ① Engine Parameter를 지시한다.
- ② 항공기의 각 System을 감시한다.
- ③ Engine 출력을 설정할 수 있다.
- ④ System의 이상상태 발생을 지시한다.
등록된 댓글이 없습니다.
71. 전파의 전달 방법 중 직접파에 대한 설명으로 틀린 것은?
- ① 직접파의 도달거리는 가시거리 이내이다.
- ② 송수신 안테나를 높이면 도달거리가 길어진다.
- ③ 송신 안테나로부터 직접 수신안테나에 도달되는 전파이다.
- ④ 송신출력을 2배 높이면 도달거리는 가시거리보다 2배 길어진다.
등록된 댓글이 없습니다.
72. 그림과 같은 회로에서 저항 6Ω 의 양단전압 E는 몇 V인가?

- ① 20
- ② 60
- ③ 80
- ④ 120
등록된 댓글이 없습니다.
73. 드레인 포트의 방빙에 대한 설명으로 틀린 것은?
- ① 드레인 포트의 방빙은 전기적인 방법을 사용한다.
- ② 드레인 포트르 방빙하는 목적은 외부 온도저하로 포트의 막힘을 방지하기 위해서이다.
- ③ 드레인 포트를 방빙하는 목적은 이물질의 낌현상을 결빙방법으로 제거하기 위해서이다.
- ④ 드레인 포트는 항공기 외부에 수분이 접촉되지 않도록 마스트형의 방출구로 되어 있다.
등록된 댓글이 없습니다.
74. 수평의는 자이로의 어떤 특성을 이용한 것인가?
- ① 강직성과 관성
- ② 섭동성과 직립성
- ③ 강직성과 직립성
- ④ 강직성과 섭동성
등록된 댓글이 없습니다.
75. 공압계통에서 릴리프 밸브(Relief Valve)의 압력 조정은 일반적으로 무엇으로 하는가?
- ① 심(Shim)
- ② 스크류(Screw)
- ③ 중력(Gravity)
- ④ 드라이브 핀(Drive Pin)
등록된 댓글이 없습니다.
76. 브레이크(Brake) 계통의 유압이 누출될 경우 이것은 무엇에 의해 보상될 수 있는가?
- ① 연동장치
- ② Piston Return Spring
- ③ Master Cylinder Reservoir
- ④ Actuating Cylinder Reservoir
등록된 댓글이 없습니다.
77. Y결선 3상 교규발전기의 출력중 임의의 두 개 상전압을 합하면 결과되는 전압은?
- ① 상전압의 √2배
- ② 상전압의 √3배
- ③ 상전압의 2배
- ④ 영의 전압
등록된 댓글이 없습니다.
78. 주로 폴리머나 세라믹 소재로 제작되며 미소한 온도 변화에 의해서 전기저항의 변화에 크게 일어나도록 제작된 화재경고장치의 방식은?
- ① 실버윈(Silver win)식
- ② 서미스터(Thermistor)식
- ③ 서모커플(Thermocouple)식
- ④ 서멀 스위치(Thermal switch)식
등록된 댓글이 없습니다.
79. 유압계통에 사용되는 축압기(Accumulator)의 기능에 대한 설명으로 틀린 것은?
- ① 가압된 작동유를 저장한다.
- ② 유압계통의 충격압력을 흡수한다.
- ③ 유압계통의 압력의 크기를 조절한다.
- ④ 유압계통의 서징(Surging) 현상을 완화시킨다.
등록된 댓글이 없습니다.
80. 태양의 표면에서 폭발이 일어날 때 방출되는 강한 전자기파들이 D층을 두껍게 하여 국제통신의 파동이 약해져 통신이 두절되는 전파상의 이상 현상은?
- ① 페이딩 현상
- ② 공전현상
- ③ 델린저현상
- ④ 자기폭풍현상
등록된 댓글이 없습니다.