건설재료시험산업기사(2020. 8. 22.) 시험일자 : 2020년 8월 22일
1과목 : 콘크리트공학
1. 콘크리트 다지기에 대한 설명으로 틀린 것은?
- ① 콘크리트 다지기에는 내부진동기의 사용을 원칙으로 하나, 내부진동기의 사용이 곤란한 장소에서는 거푸집 진동기를 사용해도 좋다.
- ② 콘크리트는 타설 직후 바로 충분히 다져서 거푸집의 구석구석까지 잘 채워지도록 해야 한다.
- ③ 내부진동기는 연직으로 일정한 간격으로 찔러 넣고, 그 간격은 일반적으로 0.5m이하로 하는 것이 좋다.
- ④ 재진동은 콘크리트에 나쁜 영향이 생기므로 해서는 안 된다.
등록된 댓글이 없습니다.
2. 일반적인 수중 콘크리트의 경우, 콘크리트 표준시방서에 규정된 물-결합재비와 단위 결합재량의 기준은 각각 얼마인가?
- ① 50% 이하, 300kg/m3 이상
- ② 40% 이하, 350kg/m3 이상
- ③ 50% 이하, 370kg/m3 이상
- ④ 40% 이하, 400kg/m3 이상
등록된 댓글이 없습니다.
3. 매스 콘크리트에 대한 설명으로 옳은 것은?
- ① 굵은 골재의 최대 치수는 작업성이나 건조수축 등을 고려하여 되도록 큰 값을 사용하여야 한다.
- ② 거푸집은 빨리 제거하여 수화열로 인한 콘크리트의 온도를 낮게 할 수 있도록 하여야 한다.
- ③ 벽체구조물에 수축이음을 설치할 경우 수축이음의 단면감소율을 10%이할 하여야 한다.
- ④ 매스 콘크리트의 타설온도는 온도균열을 제어하기 위한 관점에서 높게 하여야 한다.
등록된 댓글이 없습니다.
4. 설계기준압축강도가 21MPa인 콘크리트로 부터 5개의 공시체를 제작하여 압축강도 시험을 한 결과 각각 22, 23, 24, 27, 29MPa의 압축강도를 얻었다. 콘크리트 품질관리를 위한 압축강도의 불편분산에 의한 표준편차 값은?
- ① 2.4MPa
- ② 2.9MPa
- ③ 3.4MPa
- ④ 3.9MPa
등록된 댓글이 없습니다.
5. 보통 콘크리트에 비해 강섬유보강 콘크리트의 가장 큰 특성은?
- ① 시공성의 향상
- ② 공기량의 증가
- ③ 인장강도의 증가
- ④ 워커빌리티의 증가
등록된 댓글이 없습니다.
6. 시험용 공시체를 이용하여 쪼갬 인장 강도 시험을 실시하였더니 90kN의 하중에서 파괴되었다. 이 콘크리트의 쪼갬 인장 강도는? (단, 공시체의 지름은 100mm, 높이는 200mm이다.)
- ① 2.53MPa
- ② 2.86MPa
- ③ 3.02MPa
- ④ 3.24MPa
등록된 댓글이 없습니다.
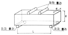
7. 콘크리트의 휨강도 시험방법에 대한 아래의 그림에서 지간의 길이(L)로서 가장 적당한 것은? (단, 치수의 단위는 mm이다.)

- ① 5d
- ② 5d+100
- ③ 3d
- ④ 3d+80
등록된 댓글이 없습니다.
8. 공기 중의 이산화탄소 등과 콘크리트 중의 수산화칼슘이 반응함으로써 일어나는 현상으로 콘크리트 피복두께 이상으로 진행될 경우 철근의 부식을 초래하여 궁극적으로 구조물의 수명을 단축시키게 되는 것은?
- ① 탄산화
- ② 수화반응
- ③ 동결융해 작용
- ④ 알칼리-실리카 반응
등록된 댓글이 없습니다.
9. 콘크리트의 크리프에 영향을 주는 요소에 대한 내용으로 옳은 것은?
- ① 응력이 클수록 크리프는 작다.
- ② 부재의 치수가 작을수록 크리프는 크다.
- ③ 재하시의 재령이 작을수록 크리프는 작다.
- ④ 배합 시 단위시멘트량이 많을수록 크리프는 작다.
등록된 댓글이 없습니다.
10. 외력에 의하여 일어나는 응력을 소정의 한도까지 상쇄할 수 있도록 미리 인위적으로 그 응력의 분포와 크기를 정하여 내력을 준 콘크리트를 무엇이라고 하는가?
- ① 철근콘크리트
- ② 레디믹스트 콘크리트
- ③ 프리플레이스트 콘크리트
- ④ 프리스트레이스트 콘크리트
등록된 댓글이 없습니다.
11. 30회 이상의 압축강도 시험으로부터 구한 압축강도의 표준편차가 4MPa일 때, 설계기준 압축강도 28MPa인 콘크리트를 제조하기 위한 배합강도는?
- ① 33.36MPa
- ② 33.82MPa
- ③ 34.52MPa
- ④ 36.53MPa
등록된 댓글이 없습니다.
12. 잔골재의 절대용적이 0.29m3, 굵은 골재의 절대용적이 0.41m3인 콘크리트의 잔골재율은?
- ① 37.5%
- ② 38.9%
- ③ 40.3%
- ④ 41.4%
등록된 댓글이 없습니다.
13. 시방배합 결과 콘크리트 1m3에 사용되는 물은 180kg, 시멘트는 390kg, 잔골재는 717.65kg, 굵은 골재는 1082.35kg이다. 현장 골재의 표면수량을 측정한 결과 잔골재의 표면수량은 2%, 굵은 골재의 표면 수량은 1%일 때, 현장배합에 필요한 단위 수량은?
- ① 145kg/m3
- ② 155kg/m3
- ③ 205kg/m3
- ④ 232kg/m3
등록된 댓글이 없습니다.
14. 콘크리트의 습윤양생에 관한 설명으로 틀린 것은?
- ① 습윤양생기간 중에 거푸집 판이 건조하더라도 살수를 해서는 안 된다.
- ② 막 양생을 할 경우에는 사용 전에 살포량 시공방법 등에 관하여 시험을 통하여 충분히 검토해야 한다.
- ③ 콘크리트는 타설한 후 경화가 될 때까지 직사광선이나 바람에 의해 수분이 증발하지 않도록 방지해야 한다.
- ④ 습윤양생 기간은 보통 포틀랜드시멘트를 사용하고 일 평균기온이 15℃ 이상인 경우에는 5일을 표준으로 한다.
등록된 댓글이 없습니다.
15. 미리 거푸집 속에 특정한 입도를 가지는 굵은 골재를 채워놓고, 그 간극에 모르타르를 주입하여 제조한 콘크리트는?
- ① 숏크리트
- ② 공장 제품
- ③ 프리캐스트 콘크리트
- ④ 프리플레이스트 콘크리트
등록된 댓글이 없습니다.
16. 시공이음에 대한 설명으로 틀린 것은?
- ① 시공이음은 될 수 있는 대로 전단력이 큰 위치에 설치해야 한다.
- ② 시공이음은 부재의 압축력이 작용하는 방향과 직각되게 하는 것이 원칙이다.
- ③ 수밀을 요하는 콘크리트에 있어서는 소요의 수밀성이 얻어지도록 적절한 간격으로 시공이음부를 두어야 한다.
- ④ 이음부의 시공에 있어서는 설계에 정해져 있는 이음의 위치와 구조는 지켜져야 한다.
등록된 댓글이 없습니다.
17. PS강재를 긴장 정착할 때 즉시 발생하는 프리스트레스 손실원인에 해당하는 것은?
- ① 정착장치의 활동
- ② 콘크리트의 크리프
- ③ 콘크리트의 건조수축
- ④ PS강재의 릴랙세이션
등록된 댓글이 없습니다.
18. 콘크리트의 재료분리에 관한 내용으로 틀린 것은?
- ① 재료분리 현상은 운반, 다지기작업 도중에도 계속 일어난다.
- ② AE제를 사용한 콘크리트는 재료분리 현상이 적게 일어난다.
- ③ 블리딩이 큰 콘크리트는 재료분리 현상이 적게 일어난다.
- ④ 단위골재량이 너무 많은 경우 재료분리현상이 크게 일어난다.
등록된 댓글이 없습니다.
19. 외기온도가 25℃ 미만일 때 콘크리트의 비비기로부터 타설이 끝날 때까지의 시간은 원칙적으로 얼마를 넘어서는 안 되는가?
- ① 1.5시간
- ② 2시간
- ③ 2.5시간
- ④ 3시간
등록된 댓글이 없습니다.
20. 고강도 콘크리트의 설계기준압축강도는 보통(중량)콘크리트에서 최소 몇 MPa이상 이어야 하는가?
- ① 30MPa
- ② 35MPa
- ③ 40MPa
- ④ 45MPa
등록된 댓글이 없습니다.
2과목 : 건설재료 및 시험
21. 시멘트 저장에 관한 설명으로 가장 적절한 것은?
- ① 통풍이 잘 되도록 환기구를 크게 설치한다.
- ② 쌓는 높이는 13포대 이하로 하며 장기간에 걸쳐 저장할 때는 7포대 이상 쌓아 올리지 않는 것이 좋다.
- ③ 저장소의 바닥은 지상으로부터 10cm 이하의 거리를 두고 설치하는 것이 좋다.
- ④ 입하 순서와 상관없이 저장고 가장 안쪽의 시멘트를 먼저 사용한다.
등록된 댓글이 없습니다.
22. 다음 중 석유 아스팔트가 아닌 것은?
- ① 그라하마이트
- ② 블론 아스팔트
- ③ 용제추출 아스팔트
- ④ 스트레이트 아스팔트
등록된 댓글이 없습니다.
23. 다음 설명의 의미하는 토목섬유의 종류는?

- ① 지오네트
- ② 지오그리드
- ③ 지오멤브레인
- ④ 지오텍스타일
등록된 댓글이 없습니다.
24. 화강암에 대한 설명으로 틀린 것은?
- ① 내화성이 강해 고열을 받는 곳에 적합하다.
- ② 조직이 균일하고 내구성 및 강도가 크다.
- ③ 경도 및 자중이 커서 가공 및 시공이 곤란하다.
- ④ 균열이 적기 때문에 큰 재료를 채취할 수 있다.
등록된 댓글이 없습니다.
25. 혼화재료의 일반적 사용목적이 아닌 것은?
- ① 콘크리트 워커빌리티를 개선한다.
- ② 강도 및 내구성을 증진시킨다.
- ③ 응결, 경화 시간을 조절한다.
- ④ 발열량을 증대시킨다.
등록된 댓글이 없습니다.
26. 포졸란 반응(Pozzolan reaction)의 효과에 대한 설명으로 틀린 것은?
- ① 강도와 수밀성이 증대된다.
- ② 해수에 대한 화학 저항성이 향상된다.
- ③ 재료분리가 적고 워커빌리티가 좋아진다.
- ④ 단위 시멘트량이 증가되어 수화열이 커진다.
등록된 댓글이 없습니다.
27. 다음 중 암석의 가공이나 채석에 이용되는 것으로 암석의 갈라지기 쉬운 면을 무엇이라 하는가?
- ① 층리
- ② 편리
- ③ 석목
- ④ 선상구조
등록된 댓글이 없습니다.
28. 강에서 탄소의 함유량이 증가될 때 변화되는 강의 성질에 대한 설명으로 틀린 것은?
- ① 연신율이 작아진다.
- ② 인장강도가 증가된다.
- ③ 경도가 증가된다.
- ④ 항복점이 작아진다.
등록된 댓글이 없습니다.
29. 다음 중에서 폭발력이 강하고 수중에서도 폭발할 수 있는 다이너마이트는?
- ① 스트레이트 다이너마이트
- ② 규조토 다이너마이트
- ③ 분말상 다이너마이트
- ④ 교질 다이너마이트
등록된 댓글이 없습니다.
30. 단위용적질량이 1.7kg/L인 굵은 골재의 절건밀도가 2.65kg/L일 때 이 골재의 공극률은?
- ① 35.85%
- ② 42.74%
- ③ 57.26%
- ④ 64.15%
등록된 댓글이 없습니다.
31. 다음 중 아스팔트의 품질을 확인하는 시험이 아닌 것은?
- ① 연화점 시험
- ② 잔 입자 시험
- ③ 점도 시험
- ④ 신도 시험
등록된 댓글이 없습니다.
32. 잔골재의 조립률이 2.5이고 굵은 골재의 조립률이 6.5인 경우에 잔골재와 굵은 골재를 1:1.5의 비율로 혼합해 사용한다면 이때 혼합된 골재의 조립률은 얼마인가?
- ① 3.5
- ② 4.1
- ③ 4.9
- ④ 5.6
등록된 댓글이 없습니다.
33. 아스팔트의 침입도에 대한 설명으로 틀린 것은?
- ① 아스팔트의 침입도는 일반적으로 온도상승에 따라 증가한다.
- ② 침입도 지수가 클수록 감온성이 저하된다.
- ③ 침입도 시험의 목적은 연성을 조사하기 위해서이다.
- ④ 아스팔트의 반죽질기를 나타내는 것이다.
등록된 댓글이 없습니다.
34. 콘크리트용으로 요구되는 골재의 성질에 속하지 않는 것은?
- ① 골재는 깨끗하고 모양이 편평하거나 가늘고 길어야 한다.
- ② 골재는 크고 작은 알맹이의 혼합정도가 적당해야 한다.
- ③ 골재는 강하고 내구성과 내화성을 가져야 한다.
- ④ 골재는 진흑이나 유기 불순물 등의 유해물은 유해물함유량 한도 이상 함유해서는 안 된다.
등록된 댓글이 없습니다.
35. 다음 중 목재의 변재(邊材)와 심재(心材)에 관한 설명으로 옳은 것은?
- ① 나무줄기의 중앙부로서 비교적 어두운 색을 나타내는 부분을 변재라 한다.
- ② 여름과 가을에 걸쳐 성장한 부분으로 조직이 치밀하고 단다하며 색깔도 짙은 부분을 심재라고 한다.
- ③ 변재는 심재보다 강도, 내구성 등이 작다.
- ④ 심재는 다공질이며, 숙액의 이동, 양분이 저장되는 곳이다.
등록된 댓글이 없습니다.
36. 시멘트의 강도시험(KS L ISO 679)에 의해 시멘트 모르타르(cement mortar)의 압축강도 시험을 하기 위해 공시체를 제작하고자 한다. 이때 필요한 시멘트와 잔골재의 질량배합비율은?
- ① 1:2.55
- ② 1:2.65
- ③ 1:2.7
- ④ 1:3
등록된 댓글이 없습니다.
37. 재료의 기계적 성질 중 외력을 받을 때 변형유발 정도를 표현하는 성질에 대한 용어는?
- ① 강성
- ② 경도
- ③ 취성
- ④ 전성
등록된 댓글이 없습니다.
38. 분말도가 높은 시멘트의 특징에 대한 설명으로 틀린 것은?
- ① 수화작용이 빠르다.
- ② 조기강도가 작다.
- ③ 워커빌리티가 좋다.
- ④ 건조수축이 크다.
등록된 댓글이 없습니다.
39. 용광로 방식의 제철작업에서 선철과 함께 생성되는 것을 물, 공기 등으로 급랭하여 입상화 한 것으로 콘크리트에 혼합하면 수밀성과 화학적 저항성 등이 좋아지고 장기강도가 커지는 혼화재는?
- ① 폴리머
- ② 실리카 퓸
- ③ 플라이애시
- ④ 고로슬래그 미분말
등록된 댓글이 없습니다.
40. 공기 중 건조 상태의 골재 500g을 물속에 24시간 담근 후 측정한 골재의 질량이 515g이다. 이 골재를 다시 건조로에서 건조시켰을 때 절대 건조 질량이 485g이 되었다. 이 골재의 함수율은?
- ① 3.00%
- ② 3.09%
- ③ 6.00%
- ④ 6.19%
등록된 댓글이 없습니다.
3과목 : 건설시공학
41. 보강토 옹벽에 대한 설명으로 틀린 것은?
- ① 전면판과 보강재가 제품화됨으로써 공사기간을 단축시킬 수 있다.
- ② 금속재 전면판을 이용함으로써 골재의 절약하고 장거리 수송이 용이하다.
- ③ 충격과 진동에 약한 구조로 얕은 성토에 유리하다.
- ④ 부등침하에 대한 파괴위험이 적어 기초공사가 비교적 간단하다.
등록된 댓글이 없습니다.
42. 지반개량공법 중 연약지반을 탈수하여 지반의 밀도증가를 기대하는 공법이 아닌 것은?
- ① 웰포인트공법
- ② 샌드드레인공법
- ③ 시멘트주입공법
- ④ 페이퍼드레인공법
등록된 댓글이 없습니다.
43. 본바닥 토량이 1000m3이고 덤프트럭 1대로 운반하면 운반 소요 일수는? (단, 덤프트럭 1대 운반 적재량은 6m3, 1대 1일 운반 횟수는 20회, 토량 변화율(L)DMS 1.32이다.)
- ① 9일
- ② 11일
- ③ 13일
- ④ 15일
시공2025. 10. 9. 22:27삭제
.
44. 노상이나 노반의 다짐이 완료되면 롤러나 재하 된 덤프트럭을 주행시켜 침하량을 측정하는 방법은?
- ① 엘라스타이트(elastite)
- ② 프루프 롤링(proof rooling)
- ③ 히터 플레이너(heater planer)
- ④ 마샬 안정도 시험(Marshall stability test)
등록된 댓글이 없습니다.
45. 댐의 위치를 결정하기 위한 지형적인 조건으로 틀린 것은?
- ① 집수면적이 큰 곳이 좋다.
- ② 댐을 건설할 계곡의 폭이 좁고, 양안이 높고, 마주보고 있는 곳이 좋다.
- ③ 댐 상류에 구릉이나 산릉에 둘러싸여 내부가 집수 분지를 이루고 있는 곳은 피하는 것이 좋다.
- ④ 댐은 상류가 넓고, 다량의 저수가 가능하며, 홍수 시에 조절지로서의 역할을 할 수 있는 곳이 좋다.
등록된 댓글이 없습니다.
46. 공기 케이슨 공법에 대한 설명으로 틀린 것은?
- ① 장애물의 제거가 쉽다.
- ② 케이슨병이 발생하므로 굴착 깊이에 제한이 있다.
- ③ 보일링 현상이나 히빙 현상이 일어날 수 있어 인접구조물의 침하 우려가 있다.
- ④ 시공 시에 토질 확인이 가능하며, 각종 시험을 통한 지지력 측정이 가능하다.
등록된 댓글이 없습니다.
47. 아래 표와 같은 조건에서 불도저의 작업량을 산출할 때 사용하는 사이클타임(Cm)은?

- ① 3.60min
- ② 3.85min
- ③ 4.10min
- ④ 4.35min
등록된 댓글이 없습니다.
48. 보통 흙을 재료로 하여 1800m3의 성토 공사를 할 경우 굴착해야할 원지반 토량은 얼마인가? (단, 토량의 변화율은 C=0.90이다.)
- ① 1700m3
- ② 1800m3
- ③ 1900m3
- ④ 2000m3
등록된 댓글이 없습니다.
49. 건설기계 중에서 셔블(shovel)계 굴착기에 포함되지 않는 것은?
- ① 백호(Back boe)
- ② 클램셀(Clamshell)
- ③ 드래그라인(Drag line)
- ④ 모터 그레이더(Motor grader)
등록된 댓글이 없습니다.
50. 옹벽의 안정성 검토 시 고려사항이 아닌 것은?
- ① 활동에 대한 안정
- ② 전도에 대한 안정
- ③ 유효응력에 대한 안정
- ④ 지반의 지지력에 대한 안정
등록된 댓글이 없습니다.
51. 1개의 간선 집수거 또는 집수거에 많은 흡수거를 합류시켜 배치하면 집수지거를 향하여 지형이 완만한 구배로 경사되어 있고 습윤상태가 같은 정도의 곳에 적합한 암거 배열 방식은?
- ① 빗식 배열 방식
- ② 집단식 배열 방식
- ③ 차단식 배열 방식
- ④ 어골식 배열 방식
등록된 댓글이 없습니다.
52. 심빼기 부분에 수직한 평행공을 다수 천공하여 장약량을 집중시키고 순발뇌관으로 폭파시켜 폭파 쇼크에 의하여 심빼기 하는 방법은?
- ① 노 컷
- ② 번 컷
- ③ V 컷
- ④ 스윙 컷
등록된 댓글이 없습니다.
53. 지름 40cm의 나무말뚝 36본을 박아서 기초저판을 지지하고 있다. 말뚝의 배치를 6열로 하고 각 열을 등간격으로 6본씩 받았을 때 군항의 효율은? (단, 말뚝의 중심 간격은 1.0m이며, Converse-Labarre식을 사용한다.)
- ① 0.596
- ② 0.696
- ③ 0.796
- ④ 0.896
등록된 댓글이 없습니다.
54. 시멘트 콘크리트 포장의 종류 중 아래의 표에서 설명하는 것은?

- ① 무근 콘크리트 포장(JCP)
- ② 철근콘크리트 포장(JRCP)
- ③ 롤러 전압 콘크리트 포장(RCCP)
- ④ 연속 철근콘크리트 포장(CRCP)
등록된 댓글이 없습니다.
55. 토량변화율 L을 나타낸 식으로 옳은 것은?
- ①

- ②

- ③

- ④

등록된 댓글이 없습니다.
56. 아래 그림의 교대에서 D부분의 명칭은?

- ① 교좌
- ② 흉벽
- ③ 날개벽
- ④ 답괘판
시공2025. 10. 9. 22:34삭제
.
57. 터널의 보강을 위한 숏크리트(Shotcrete)에서 건식법의 특징으로 틀린 것은?
- ① 분진 발생량이 많다.
- ② 리바운드(Rebound)량이 적다.
- ③ 운반거리를 습식법 보다 길게 할 수 있다.
- ④ 작업원의 숙련도에 따라 품질변동이 심하다.
등록된 댓글이 없습니다.
58. 다음과 같은 공정표에서 주공정이 옳게 표기된 것은?

- ① ①-③-⑤
- ② ①-③-④-⑤
- ③ ①-②-④-⑤
- ④ ①-②-③-④-⑤
등록된 댓글이 없습니다.
59. 말뚝기초에서 부마찰력이 발생하는 원인이 아닌 것은?
- ① 표면적이 작은 말뚝으로 시공한 경우
- ② 말뚝의 타입 지반이 압밀 진행중인 경우
- ③ 지하수위의 감소로 체적이 감소하는 경우
- ④ 말뚝의 변화량 보다 지반의 침하량이 큰 경우
등록된 댓글이 없습니다.
60. 아래의 표는 장대교 시공법의 특징에 대한 설명이다. 다음 중 어느 공법에 대한 설명인가?

- ① FSM공법
- ② FCM공법
- ③ MSS공법
- ④ ILM공법
등록된 댓글이 없습니다.
4과목 : 토질 및 기초
61. 흑의 전단강도에 대한 설명으로 틀린 것은?
- ① 흙의 전단강도와 압축강도는 밀접한 관계에 있다.
- ② 흙의 전단강도는 입자간의 내부마찰각과 점차력으로부터 주어진다.
- ③ 외력이 증가하면 전단응력에 의해서 내부의 어느 면을 따라 활동이 일어나 파괴된다.
- ④ 일반적으로 사질토는 내부마찰각이 작고 점성토는 점착력이 작다.
등록된 댓글이 없습니다.
62. 그림과 같은 파괴 포락선 중 완전 포화된 점성토에 대해 비압밀비배수 삼축압축(UU)시험을 했을 때 생기는 파괴포락선은 어느 것인가?

- ① ㉮
- ② ㉯
- ③ ㉰
- ④ ㉱
등록된 댓글이 없습니다.
63. 주동토압을 PA, 정지토압을 PO, 수동토압 PP라 할 때 크기의 비교로 옳은 것은?
- ① PA > PO > PPP
- ② PPP > PA > PO
- ③ PO > PA > PPP
- ④ PPP > PO > PA
등록된 댓글이 없습니다.
64. 흙의 다짐 특성에 대한 설명으로 옳은 것은?
- ① 다짐에 의하여 흙의 밀도와 압축성은 증가된다.
- ② 세립토가 조립토에 비하여 최대건조밀도가 큰 편이다.
- ③ 점성토를 최적함수비보다 습윤측으로 다지면 이산구조를 가진다.
- ④ 세립토는 조립도에 비하여 다짐 곡선의 기울기가 급하다.
등록된 댓글이 없습니다.
65. 흙의 다짐 에너지에 대한 설명으로 틀린 것은?
- ① 다짐 에너지는 램머(rammer)의 중량에 비례한다.
- ② 다짐 에너지는 램머(rammer)의 낙하고에 비례한다.
- ③ 다짐 에너지는 시료의 체적에 비례한다.
- ④ 다짐 에너지는 타격수에 비례한다.
등록된 댓글이 없습니다.
66. 말뚝기초에서 부주면마찰력(negative skin friction)에 대한 설명으로 틀린 것은?
- ① 지하수위 저하로 지반이 침하할 때 발생한다.
- ② 지반이 압밀진행중인 연약점토 지반인 경우에 발생한다.
- ③ 발생이 예상되면 대책으로 말뚝주면에 역청등으로 코팅하는 것이 좋다.
- ④ 말뚝주면에 상방향으로 작용하는 마찰력이다.
등록된 댓글이 없습니다.
67. 말뚝의 재하시험 시 연약점토 지반인 경우는 말뚝 타입 후 소정의 시간이 경과한 후 말뚝재하시험을 한다. 그 이유로 옳은 것은?
- ① 부 마찰력이 생겼기 때문이다.
- ② 타입 된 말뚝에 의해 흙이 팽창되었기 때문이다.
- ③ 타입 시 말뚝주변의 흙의 교란되었기 때문이다.
- ④ 주면 마찰력이 너무 크게 작용하였기 때문이다.
등록된 댓글이 없습니다.
68. 두께 6m의 점토층에서 시료를 채취하여 압밀시험한 결과 하중강도가 200kN/m2에서 400kN/m2으로 증가되고 간극비는 2.0에서 1.8로 감소하였다. 이 시료의 압축계수(av)는?
- ① 0.001m2/kN
- ② 0.003m2/kN
- ③ 0.006m2/kN
- ④ 0.008m2/kN
등록된 댓글이 없습니다.
69. 사질토 지반에 있어서 강성기초의 접지 압분포에 대한 설명으로 옳은 것은?
- ① 기초 밑면에서의 응력은 불규칙하다.
- ② 기초의 중앙부에서 최대응력이 발생한다.
- ③ 기초의 밑면에서는 어느 부분이나 응력이 동일하다.
- ④ 기초의 모서리 부분에서 최대응력이 발생한다.
등록된 댓글이 없습니다.
70. 흙의 투수계수에 대한 설명으로 틀린 것은?
- ① 투수계수는 온도와는 관계가 없다.
- ② 투수계수는 물의 점성과 관계가 있다.
- ③ 흙의 투수계수는 보통 Darcy 법칙에 의하여 정해진다.
- ④ 모래의 투수게수는 간극비나 흙의 형상과 관계가 있다.
등록된 댓글이 없습니다.
71. 도로의 평판 재하 시험(KS F 2310)에서 변위계 지지대의지지 다리 위치는 재하판 및 지지력 장치의 지지점에서 몇 m 이상 떨어져 설치하여야 하는가?
- ① 0.25m
- ② 0.50m
- ③ 0.75m
- ④ 1.00m
등록된 댓글이 없습니다.
72. 연약지반 개량공법에서 Sand Drain공법과 비교한 Paper Drain공법의 특징이 아닌 것은?
- ① 공사비가 비싸다.
- ② 시공속도가 빠르다.
- ③ 타입 시 주변 지반 교란이 적다.
- ④ Drain 단면이 깊이 방향에 대해 일정하다.
등록된 댓글이 없습니다.
73. 흙 속의 물이 얼어서 빙충(ice lens)이 형성되기 때문에 지표면이 떠오르는 현상은?
- ① 연화현상
- ② 동상현상
- ③ 분사현상
- ④ 다일러턴시
등록된 댓글이 없습니다.
74. 흙의 연결도에 대한 설명 중 틀린 것은?
- ① 액성한계는 유동곡선에서 낙하회수 25회에 대한 함수비를 말한다.
- ② 수축한계 시험에서 수은을 이용하여 건조토의 무게를 정한다.
- ③ 흙의 액성한계·소성한계 시험은 425㎛체를 통과한 시료를 사용한다.
- ④ 소성한계는 시료를 실 모양으로 늘렸을 때, 시료가 3mm의 굵기에서 끊어 질 때의 함수비를 말한다.
등록된 댓글이 없습니다.
75. 어떤 퇴적지반의 수평방향 투수계수가 4.0×10-3cm/s, 수직방향 투수계수가 3.0×10-3cm/s일 때 이 지반의 등가 등방성 투수계수는 얼마인가?
- ① 3.46×10-3cm/s
- ② 5.0×10-3cm/s
- ③ 6.0×10-3cm/s
- ④ 6.93×10-3cm/s
등록된 댓글이 없습니다.
76. 분할법으로 사면인정 해석 시에 가장 먼저 결정되어야 할 사항은?
- ① 가상파괴 활동면
- ② 분할 세편의 중량
- ③ 활동면상의 마찰력
- ④ 각 세편의 간극수압
등록된 댓글이 없습니다.
77. 어느 모래층의 간극률이 20%, 비중이 2.65이다. 이 모래의 한계 동수경사는?
- ① 1.28
- ② 1.32
- ③ 1.38
- ④ 1.42
등록된 댓글이 없습니다.
78. 포화점토에 대해 베인전단시험을 실시하였다. 베인의 지름과 높이는 각각 75mm와 150mm이고 시험 중 사용한 최대 회전 모멘트는 300N·m, 점성토의 비배수 전단강도(cu)는?
- ① 1.62N/m2
- ② 1.94N/m2
- ③ 16.2N/m2
- ④ 19.4N/m2
등록된 댓글이 없습니다.
79. 2면 직접전단시험에서 전단력이 300N, 시료의 단면적이 10cm2일 때의 전단응력은?
- ① 75kN/m2
- ② 150kN/m2
- ③ 300kN/m2
- ④ 600kN/m2
등록된 댓글이 없습니다.
80. 통일분류법에서 실트질 자갈을 표시하는 기호는?
- ① GW
- ② GP
- ③ GM
- ④ GC
등록된 댓글이 없습니다.