방송통신산업기사(2022. 3. 12.) 시험일자 : 2022년 3월 12일
1과목 : 디지털 전자회로
1. 다음의 중간 탭형 변압기용 전파정류회로에서 다이오드 한 개가 개방되면 출력은 어떻게 되는가?

- ① 전파정류의 정상 진폭보다 큰 반파 정류가 된다.
- ② 전파정류의 정상 진폭보다 작은 반파 정류가 된다.
- ③ 전파정류의 정상 진폭과 동일한 반파 정류가 된다.
- ④ 전파정류의 정상 진폭과 동일한 전파 정류가 된다.
등록된 댓글이 없습니다.
2. 다음 중 L형 평활회로가 비교한 C형 평활회로의 특성을 바르게 나타낸 것은?
- ① 직류 출력 전압이 낮다.
- ② 전압 변동율이 작다.
- ③ 최대 역전압(PIV)이 높다.
- ④ 시정수가 크며, 리플이 증가된다.
등록된 댓글이 없습니다.
3. 정전압 회로의 입력전압을 Vi, 출력전압 Vo, 부하전류를 Io라 하면, 안정화 지수 S는 어떻게 표시되는가?
- ①

- ②

- ③

- ④

등록된 댓글이 없습니다.
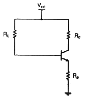
4. 다음 트랜지스터의 바이어스 회로에서 IB, IC, VCE는 얼마인가? (단, VBE = 0.7[V], VCC= 10[V], Rb = 200[kΩ], Re = 2[kΩ], Rc = 1[kΩ], hfe = 100)

- ① IB = 46.2[μA], IC= 4.61[mA], VCE = 3[V]
- ② IB = 23.1[μA], IC= 23[mA], VCE = 4[V]
- ③ IB = 18[μA], IC= 1.89[mA], VCE = 0.7[V]
- ④ IB = 23.1[μA], IC= 2.31[mA], VCE = 3[V]
등록된 댓글이 없습니다.
5. CR결합 증폭기에서 주파수특성은 저역, 중역 및 고역 대역으로 분류된다. 1단 CR결합 증폭기에서 중역전압이득 Avm = 100이고, 입력 RC 회로망의 저역 차단 주파수가 1[kHz]이다. 주파수 1[kHz]에서의 저역전압이득 Avl을 구하면 약 몇 [V] 인가?
- ① 33.3 [V]
- ② 50.4 [V]
- ③ 65.7 [V]
- ④ 70.7 [V]
등록된 댓글이 없습니다.
6. 다음 중 FET 증폭회로의 응용으로 적합한 것은?
- ① 신호원 임피던스가 높은 증폭기의 초단
- ② 주파수 안정도를 높일 필요가 있는 증폭기의 끝단
- ③ 신호원 임피던스가 높은 증폭기의 중간단
- ④ 신호원 임피던스가 높은 증폭기의 끝단
등록된 댓글이 없습니다.
7. 다음 중 송신기의 주파수 체배증폭기 및 RF 전력증폭기 등으로 주로 사용되는 것은?
- ① A급 증폭기
- ② B급 증폭기
- ③ AB급 증폭기
- ④ C급 증폭기
등록된 댓글이 없습니다.
8. 다음 중 C급 증폭기의 특징이 아닌 것은?
- ① 효율이 높다.
- ② 출력단에 공진회로가 필요하다.
- ③ 직선성이 좋다.
- ④ 고출력용으로 사용된다.
등록된 댓글이 없습니다.
9. 다음의 비안정 NE555회로에서 발진기의 출력(Vout) 듀티사이클 50[%] 미만으로 만들기 위한 조건으로 알맞은 것은?

- ① R1 = R2
- ② R1 > R2
- ③ R1 < R2
- ④ R1C1 = R2C2
등록된 댓글이 없습니다.
10. 다음 그림은 원 브리지 발진기의 블록도이다. 발진하기 위한 저항 R2의 값은? (단, 발진을 위한 개방루프 이득은 3)

- ① 5[kΩ]
- ② 10[kΩ]
- ③ 20[kΩ]
- ④ 30[kΩ]
등록된 댓글이 없습니다.
11. 다음 중 펄스 통신 방법이 아닌 것은?
- ① PCM(Pulse Code Modulation)
- ② PWM(Pulse Width Modulation)
- ③ SSB(Single Side Band)
- ④ PAM(Pulse Amolitude Modulation)
등록된 댓글이 없습니다.
12. 진폭변조에서 반송파 전압이 5[V], 신호파 전압이 2[V]인 경우 변조도(m)는?
- ① 10[%]
- ② 20[%]
- ③ 40[%]
- ④ 60[%]
등록된 댓글이 없습니다.
13. 다음 중 위상변조(PM)에 대한 설명으로 옳은 것은?
- ① 반송파의 진폭이 신호의 크기에 따라 비례한다.
- ② 반송파의 위상이 신호의 크기에 따라 비례한다.
- ③ 반송파의 주파수가 신호의 크기에 따라 비례한다.
- ④ 반송파의 주파수와 위상이 신호의 크기에 따라 비례한다.
등록된 댓글이 없습니다.
14. 다음 중 디지털 변복조 방식을 사용하는 디지털 통신 시스템을 설계할 때 설계 목표라서 거리가 먼 것은?
- ① 최대 데이터 전송률
- ② 최소 심볼 오류
- ③ 최소 점유 대역폭
- ④ 최대 전송 전력
등록된 댓글이 없습니다.
15. 펄스의 상승 부분에서 진동의 정도를 말하며, 높은 주파수 성분에 공진하기 때문에 생기는 것을 무엇이라 하는가?
- ① 세그(Sag)
- ② 오버슈트(Over Shoot)
- ③ 충격계수(Duty Factor)
- ④ 링깅(Ringing)
등록된 댓글이 없습니다.
16. 다음 중 미분회로에 삼각파를 입력했을 때 출력파형은?
- ① 정현파
- ② 여현파
- ③ 삼각파
- ④ 구형파
등록된 댓글이 없습니다.
17. 다음 중 슈미트 트리거 회로를 사용하여 변환 할 수 없는 파형은?
- ① 정현파를 구형파로 변환
- ② 삼각파를 구형파로 변환
- ③ 삼각파를 펄스파로 변환
- ④ 구형파를 정현파로 변환
등록된 댓글이 없습니다.
18. 다음 그림과 같은 회로의 명칭으로 가장 적합한 것은? (단, Vi > VR)

- ① Clipping Circuit
- ② Clamping Circuit
- ③ Limiter Circuit
- ④ Slicer Circuit
등록된 댓글이 없습니다.
19. 다음 중 가중치 코드(Weighted Code)의 종류가 아닌 것은?
- ① 8421 코드
- ② 2421 코드
- ③ 그레이 코드(Gray Code)
- ④ 링카운터(Ring Counter) 코드
등록된 댓글이 없습니다.
20. 다음 논리회로에서 출력 Y의 방정식을 간략하게 한 것은?

- ① Y = AC
- ② Y = ABC
- ③ Y = AB + AC
- ④ Y = AB + BC + AC
등록된 댓글이 없습니다.
2과목 : 방송통신 기기
21. 스튜디오 등 실내에서 음(Sound)를 내고 있다가 갑자기 음을 끊었을 때 음이 뚝 그치지 않고 차츰 감쇠해 가는 현상을 잔향이라 한다. 잔향시간은 음원을 끊고나서 음압레벨이 정상 상태의 값을 기준으로 몇 [dB] 저하될 때까지의 시간을 말하는가?
- ① 50[dB]
- ② 40[dB]
- ③ 30[dB]
- ④ 60[dB]
등록된 댓글이 없습니다.
22. 다음 중 TV 주조정실에서 사용되는 방송장비가 아닌 것은?
- ① VCRVTR
- ② Master Swicher
- ③ 방송송출용 Server
- ④ Off-line editor
등록된 댓글이 없습니다.
23. 다음 그림은 일반적인 TV 중계기의 블록도이다. (가), (나)에 들어갈 기능 블록으로 알맞게 짝지어진 것은?

- ① (가) 변조기, (나) 채널 여파기
- ② (가) 혼합기, (나) 변조기
- ③ (가) 익사이터(exciter), (나) 변조기
- ④ (가) 변조기, (나) 익사이터(exciter)
등록된 댓글이 없습니다.
24. 다음 중 중계차에 설치되는 방송제작용 장비가 아닌 것은?
- ① 카메라
- ② VMU
- ③ CG
- ④ 마이크로웨이브 시스템
등록된 댓글이 없습니다.
25. 방송프로그램 송출의 안정성, 정확성, 인위적인 사고 방지에 가장 적합한 시스템은?
- ① 자동통제 시스템
- ② 자동모니터 시스템
- ③ 자동보안 시스템
- ④ 자동송출 시스템
등록된 댓글이 없습니다.
26. 슈퍼헤테로다인 수신기의 중간주파수가 455[kHz]일 때 수신된 500[kHz]에 대한 영상 주파수는?
- ① 955[kHz]
- ② 1,410[kHz]
- ③ 410[kHz]
- ④ 1,545[kHz]
등록된 댓글이 없습니다.
27. FM변조 시 피변조파의 소요대역폭은? (단, fs = 신호주파수, △f : 최대주파수편이)
- ① BW = 2(△f + fs)
- ② BW = 2△f + fs
- ③ BW = △f + 2fs
- ④ BW = △f + fs
등록된 댓글이 없습니다.
28. 반송파 주파수가 102[MHz], 신호 주파수가 5[kHz]인 신호가 최대주파수 편이 25[kHz]로 주파수 변조되면 변조지수는 얼마인가?
- ① 2.5
- ② 5
- ③ 10
- ④ 15
등록된 댓글이 없습니다.
29. MPEG의 프레임 GOP(Group Of Picture)구조 중 M=3인 경우 프레임의 순서에 대해 바르게 나열된 것은?
- ① IBBPBBPBBP.....IBBP
- ② IBPBPBPBP.....IBP
- ③ IPPPPPPPPP.....IPPP
- ④ IIIIIIIIIIIIII....III
등록된 댓글이 없습니다.
30. 비디오 스위처에서 영상의 색상 차이를 이용하여 움직이는 피사체를 다른 화면에 합성할 때 사용하는 이펙트 키는?
- ① 크로마 키
- ② 루미넌스 키
- ③ 리니어 키
- ④ 매트 키
등록된 댓글이 없습니다.
31. Nyquist(나이키스트) 주파수는 어떤 것인가?
- ① 표본화 주파수
- ② 중간 주파수
- ③ 발진 주파수
- ④ 수신 주파수
등록된 댓글이 없습니다.
32. RF 증폭기의 입력신호전력이 60[μW]이고, 잡음전력이 2[μW] 이다. 이 때 출력에서 측정된 SNR이 17 이다. 여기서 T = 290[K] 라고 가정할 때 증폭기의 잡음계수는 약 얼마인가?
- ① 1.764
- ② 2.764
- ③ 3.764
- ④ 4.764
등록된 댓글이 없습니다.
33. 우리나라에서 지상파 디지털 TV방송용으로 채택되고 있는 MPEG 영상신호 압축기술은?
- ① MPEG-1
- ② MPEG-2
- ③ MPEG-3
- ④ MPEG-7
등록된 댓글이 없습니다.
34. 디지털 영상전송 과정 중 소스코딩에 해당되는 것이 아닌 것은?
- ① VLC 부호화기
- ② DCT 부호화기
- ③ 히프만 부호화기
- ④ 리드솔로먼 부호화기
등록된 댓글이 없습니다.
35. 다음 중 지상파DMB에 대한 설명으로 틀린 것은?
- ① 전송방식은 OFDV 방식을 사용하고 있다.
- ② 영상압축규격은 MPEG-4 AVC(H.264) 방식이다.
- ③ 음향압축규격은 MPEG-4 BSAC 방식이다.
- ④ 현재 수도권에서 VHF 8번과 32번 채널을 통해 서비스 중이다.
등록된 댓글이 없습니다.
36. 다음 중 영상 반송파의 신호레벨을 측정할 수 있는 계측기는?
- ① 벡터스코프
- ② 스펙트럼 분석기
- ③ MPEG 프로토콜 분석기
- ④ 웨이브폼 모니터
등록된 댓글이 없습니다.
37. 다음 중 영상신호의 미분이득 특성에 대하여 측정이 가능한 계측기는?
- ① 웨이브폼모니터
- ② 주파수 카운터
- ③ 오실로스코프
- ④ 스펙트럼 아날라이져
등록된 댓글이 없습니다.
38. 다음 중 송신기에서 부하변동에 따른 주파수의 변동을 방지하기 위하여 사용하는 회로는?
- ① 발진 증폭부
- ② 완충 증폭부
- ③ 주파수 체배기
- ④ 전력 증폭기
등록된 댓글이 없습니다.
39. 다음 중 연주소에 대한 설명으로 옳은 것은?
- ① 연주소는 프로그램 제작 및 제작된 프로그램을 송신소나 방송위상국으로 송출하는 역할을 하는 곳이다.
- ② 연주소는 프로그램을 제작실로부터 전송받아서 일반 수신자에게 방송 전파를 송신하는 곳이다.
- ③ 연주소는 방송국의 방송프로그램을 중계, 송신하여 방송국의 방송전파가 수신되지 않는 지역을 서비스하는 방송국이다.
- ④ 연주소와 중계차와의 연결링크를 STL이라 한다.
등록된 댓글이 없습니다.
40. 디지털 프로그램의 제작, 편집 시에 다른 방송국의 영상신호를 자국의 영상신호와 혼합하기 위해 양 신호를 동기시키는 장비는?
- ① 동조회로 장치
- ② 프레임 싱크로나이져
- ③ DVE
- ④ TBC
등록된 댓글이 없습니다.
3과목 : 방송미디어 개론
41. 초단파대의 방송 신호는 건물이나 지형지물에 의한 전파 반사에 의한 간섭이 발생하기 쉽다. 직접파 보다 300m의 거리를 더 진행한 반사파의 지연시간은? (단, 전파의 진행속도는 300,000[km/sec]로 가정한다.)
- ① 0.1[μs]
- ② 1[μs]
- ③ 10[μs]
- ④ 0.1[ms]
등록된 댓글이 없습니다.
42. 우리나라에서 최초로 TV 방송을 개시한 텔레비전 방송국은?
- ① HLKZ-TV(DBC)
- ② TBC-TV
- ③ KORCAD
- ④ 서울 텔레비전 방송국(KBS-TV)
등록된 댓글이 없습니다.
43. 다음은 방송의 분류에 대한 설명이다. 옳지 않은 것은?
- ① 전송로에 따라 유선방송, 무선방송 등으로 분류된다.
- ② 사용주파수에 따라 중파방송, 단파방송, 초단파방송으로 분류된다.
- ③ 중파방송은 526.5[kHz]~1,606.5[kHz]의 전파를 이용하는 방송으로 120개 채널을 사용한다.
- ④ TV방송은 단파(3~30[MHz])주파수의 전파를 이용하여 영상, 음성, 기타 음향을 보내는 방송이다.
등록된 댓글이 없습니다.
44. 중파 라디오 방송의 사용 주파수대는?
- ① 526.5[kHz]~1.606.5[kHz]
- ② 30[MHz]~88[MHz]
- ③ 3[GHz]~5[GHz]
- ④ 30[kHz]~300[kHz]
등록된 댓글이 없습니다.
45. 방송국에서 프로그램 제작 시 영상전환, 카메라 조정, 조명 및 음향 조정 등을 수행하는 곳을 무엇이라고 하는가?
- ① 부조정실
- ② 주조정실
- ③ 플로어(Floor)
- ④ SNG
등록된 댓글이 없습니다.
46. 우리나라의 지상파 DMB 전송 시스템은 1개 사업자 블록 대역폭에서 1,536개의 OFDM Sub carrier를 전송한다. 이 때 각 Sub carrier의 간격은?
- ① 1[kHz]
- ② 1.25[kHz]
- ③ 2[kHz]
- ④ 10[kHz]
등록된 댓글이 없습니다.
47. 디지털 라이도 방송 방식에서 기존 AM 또는 FM 방송 서비스 대역에서 아날로그 방송과 결합하여 동시에 서비스 할 수 없는 방식은?
- ① Eureka-147
- ② HD Radio(IBOC)
- ③ DRM
- ④ DRM Plus
등록된 댓글이 없습니다.
48. 영상을 압축하는 방식 중 반복되어 나타나는 블록 정보들을 그 반복 횟수로 표현하는 부호화 방식은?
- ① Run length code
- ② Lempel-Ziv-Welch code
- ③ Huffman code
- ④ Trellis code
등록된 댓글이 없습니다.
49. 4차 산업혁명 시대 미디어의 특징으로 가장 거리가 먼 것은?
- ① 디지털화(Digital)
- ② 방송과 통신의 컨버젼스화(Convergence)
- ③ 이동성 및 상호작용 약화
- ④ Cross Media화
등록된 댓글이 없습니다.
50. 인터넷멀티미디어방송(IPTV)의 특징으로 틀린 것은?
- ① TCP/IP 통신규역 기반
- ② 음악과 동영상의 구현
- ③ HFC 방식으로 망구성
- ④ 사용자 요구에 따라 채널 선책 가능
등록된 댓글이 없습니다.
51. 무선 신호 수신기 수신한계레벨이 –60[dBm]이고 수신신호의 세기가 –20[dBm]이면 Fade Margin은 몇 [dB] 인가?
- ① 30[dB]
- ② 40[dB]
- ③ 50[dB]
- ④ 60[dB]
등록된 댓글이 없습니다.
52. 인터넷에서 영상이나 음성 등의 파일을 다운로드 없이 실시간으로 재생해주는 기법은?
- ① Pushing
- ② Caching
- ③ Logging
- ④ Streaming
등록된 댓글이 없습니다.
53. 멀티캐스트와 연관되는 IPv4 주소 클래스는?
- ① Class A
- ② Class B
- ③ Class C
- ④ Class D
등록된 댓글이 없습니다.
54. 전관방송 관련규정상 비상방송설비 설치대상 건축물에 해당되지 않는 것은?
- ① 연면적 3,500[m2] 이상 시설물
- ② 지하 층을 제외한 층수가 11층 이상인 것
- ③ 지하층의 층수가 3층 이상인 것
- ④ 지하층이 없는 3층 이상의 건물
등록된 댓글이 없습니다.
55. RF신호를 불균형적으로 분배하고자 할 때 사용하는 수동기기로서 통상 삽입손실을 최소화하기 위해 2분기 형태로 사용되는 것은?
- ① Splitter
- ② Combiner
- ③ Directional Coupler
- ④ Matching Pad
등록된 댓글이 없습니다.
56. CATV 전송망 구성 형태에서 분배선에서 가입자 댁내까지의 선로를 무엇이라 하는가?
- ① 초간선(Super Trunk line)
- ② 간선(Trunk line)
- ③ 인입선(Drop line)
- ④ 분배선(Feeder line)
등록된 댓글이 없습니다.
57. 우리나라의 HDTV방송(ATSC 방식)의 유효화소와 유료라인은?
- ① 1,920 × 1,035
- ② 1,920 × 1,080
- ③ 2,200 × 1,125
- ④ 2,376 × 1,250
등록된 댓글이 없습니다.
58. 위성방송회선의 다중접속방법이 아닌 것은?
- ① TDMA
- ② FDMA
- ③ CDMA
- ④ CSMA
등록된 댓글이 없습니다.
59. 다음의 방송송출 및 중계시스템 중 위성과 관련이 있는 것은?
- ① FM
- ② STL
- ③ TSL
- ④ SNG
등록된 댓글이 없습니다.
60. 다음 중 위성통신의 장점이 아닌 것은?
- ① 회선 구성의 유연성
- ② 내재해성
- ③ 광역성, 다원 접속성
- ④ 근거리 통신에 대한 경제성
등록된 댓글이 없습니다.
4과목 : 전자계산기 일반 및 방송설비기준
61. 인터럽트가 발생하였을 때 수행되는 프로그램(코드)을 무어시라고 하는가?
- ① ISR(Interrupt Service Routine)
- ② IVT(Interrupt Vector Table)
- ③ IRQ(Interrupt Request)
- ④ PCI(Peripheral Component Interconnect)
등록된 댓글이 없습니다.
62. 다음 중 소프트웨어에 의한 우선순위 인터럽트의 특징이 아닌 것은?
- ① 인터럽트 요구가 많은 때에도 처리 속도가 빠르다.
- ② 융통성을 부여할 수 있다.
- ③ 특별한 하드웨어가 필요하지 않다.
- ④ 프로그램으로 처리하기 때문에 속도가 늦다.
등록된 댓글이 없습니다.
63. “서울”이라는 단어를 컴퓨터에 저장하려면 몇 바이트(Byte)가 필요한가?
- ① 2바이트
- ② 3바이트
- ③ 4바이트
- ④ 5바이트
등록된 댓글이 없습니다.
64. 연산방식에 대한 설명 중 맞는 것은?
- ① 직렬 연산 방식은 연산속도가 빠르다.
- ② 직렬 연산 방식은 하드웨어(Hardware)가 복잡하다.
- ③ 병렬 연산 방식은 연산 속도가 빠르다.
- ④ 병렬 연산 방식은 하드웨어(Hardware)가 간단하다.
등록된 댓글이 없습니다.
65. 다음 중 제조 단계에서 모든 내용을 0 또는 1로 출력되도록 생산하여 사용자가 직접 Writer를 사용하여 1회에 한하여 프로그램 할 수 있는 ROM은?
- ① Mask ROM
- ② PROM
- ③ EPROM
- ④ EEROM
등록된 댓글이 없습니다.
66. 6개의 입력을 가지는 1개의 OR 게이트에서 전체 입력 조합 중 몇 개가 HIGH 출력을 만드는가?
- ① 31
- ② 32
- ③ 63
- ④ 64
등록된 댓글이 없습니다.
67. 다음 중 부울대수가 옳지 않은 것은?
- ①

- ②

- ③

- ④

등록된 댓글이 없습니다.
68. 다음 중 DMA(Direct Memory Access)에 관한 설명으로 옳은 것은?
- ① DMA 제어기는 자료 전송을 완료하면 인터럽트를 발생시킨다.
- ② DMA 사용으로 CPU와 메모리 간 데이터 전송이 빨라진다.
- ③ DMA를 적용하면 하드웨어 구성이 단순화 된다.
- ④ DMA를 통해 메모리의 기억 용량이 증가한다.
등록된 댓글이 없습니다.
69. 다음 중 중앙처리장치의 구성 및 기능에 관한 설명이 틀린 것은?
- ① 중앙처리장치는 제어 장치와 연산 장치로 구성되어 있다.
- ② 제어 장치는 주기억장치에 대한 입출력 동작을 포함한 컴퓨터 시스템 일체를 제어한다.
- ③ 연산 장치는 데이터에 대한 산술과 논리 연산을 수행한다.
- ④ 데이터가 처리될 때마다 그 데이터는 먼저 입출력 장치에 저장되고, 중앙처리장치(CPU) 내에 있는 전자회로가 프로그램에 있는 명령어를 번역하여 처리하게 한다.
등록된 댓글이 없습니다.
70. 다음 중 입출력장치와 CPU의 실행속도 차를 줄이기 위해 사용하는 것은?
- ① Channel
- ② Parallel I/O device
- ③ Cycle steal
- ④ DMA
등록된 댓글이 없습니다.
71. 종합유선방송사업의 정의에서 괄호 안에 들어 갈 용어로 적절한 것은?

- ① 전송·통신설비
- ② 방송·선로설비
- ③ 전송·선로설비
- ④ 종합·방송설비
등록된 댓글이 없습니다.
72. 다음 중 방송의 정의에 해당되지 않는 것은?
- ① 텔레비전 방송
- ② 라디오 방송
- ③ 데이터 방송
- ④ 이동무선 방송
등록된 댓글이 없습니다.
73. 다음 중 방송법에서 정의하는 방송사업의 종류가 아닌 것은?
- ① 지상파방송사업
- ② 종합유선방송사업
- ③ 인터넷방송사업
- ④ 방송채널사용사업
등록된 댓글이 없습니다.
74. 전파법이 정하는 바에 따라서, 지상파방송사업을 하고자 하는 자는 어느 기관의 허가를 받아야 하는가?
- ① 중앙전파관리소
- ② 한국방송통신전파진흥원
- ③ 방송통신위원회
- ④ 방송문화진흥회
등록된 댓글이 없습니다.
75. 다음 괄호 안에 들어갈 말로 알맞은 것은?

- ① 기준주파수와 지정주파수
- ② 특성주파수와 중심주파수
- ③ 중심주파수와 지정주파수
- ④ 중심주파수와 기준주파수
등록된 댓글이 없습니다.
76. 다음 중 주파수대의 주파수 범위와 미터 표시로 틀리게 연결된 것은?
- ① 30[kHz] 초과 300[kHz] 이하 - 킬로미터파
- ② 300[kHz] 초과 3,000[kHz] 이하 - 센터미터파
- ③ 30[kHz] 초과 300[kHz] 이하 - 미터파
- ④ 300[kHz] 초과 3,000[kHz] 이하 – 데시미터파
등록된 댓글이 없습니다.
77. 입력신호 에너지를 간선에서 지선으로 불균등하게 분리시키는 장치를 분기기라 하는데 종단 저항값은?
- ① 600[Ω]
- ② 75[Ω]
- ③ 100[Ω]
- ④ 10[Ω]
등록된 댓글이 없습니다.
78. 다음 중 방송 공동수신 안테나 시설에 사용하는 설비와 관련 없는 것은?
- ① 주파수 변환기
- ② 분배기 및 분기기
- ③ 신호처리기
- ④ 레벨변환기
등록된 댓글이 없습니다.
79. 개설하려는 방송국의 송신안테나 위치 중 과학기술정보통신부장관이 지정하는 지점에서 떨어져야 하는 최소한의 거리에 맞지 않는 것은?
- ① 100와트 초과 1킬로와트까지 : 0.5킬로미터
- ② 1킬로와트 초과 5킬로와트까지 : 2킬로미터
- ③ 5킬로와트 초과 20킬로와트까지 : 4킬로미터
- ④ 20킬로와트 초과 : 6킬로와트
등록된 댓글이 없습니다.
80. 다음 중 통신공동구의 설치기준에 알맞지 않은 것은?
- ① 통신케이블의 수용에 필요한 공간과 설치 및 유지·보수 등의 작업공간 확보
- ② 조명·배수·소방·환기 및 접지시설 등 통신케이블의 유지·관리에 필요한 부대설비 설치
- ③ 통신공동구와 관로가 접속되는 지점에 통신케이블의 분기를 위한 분기구 설치
- ④ 통신케이블은 전력선과 함께 설치하며, 주로 직매 케이블을 사용하여 설치
등록된 댓글이 없습니다.