전기철도기사(2003. 3. 16.) 시험일자 : 2003년 3월 16일
1과목 : 전기철도공학
1. 가공 전차선과 조가선을 자동장력조정하는 경우 전차선 장력의 변화를 표준장력의 몇 % 이내로 시설하는 것이 좋은가?
- ① 5
- ② 10
- ③ 15
- ④ 20
전기철도2022. 6. 17. 22:53삭제
전차선 일괄조정 : 5%
전차선만 조정 : 10%
2. 우리나라 교류 전철용 주 변압기의 결선방식은?
- ① Scott 결선
- ② △-Y 결선
- ③ Y-△ 결선
- ④ Y-Y 결선
전기철도기사공부중2022. 6. 17. 23:10삭제
교류전기철도에서는 단상부하
이므로,
급전용 변압기로 단상변압기를 사용하고있는데,
3상 전원에 대해 불평형을 이루게 되므로 전원에 악영향을 미치게 된다.
이것을 없애기 위해 급전용 변압기에 SCOTT결선변압기 등이 이용되고 있다.
SCOTT결선변압기는 3상을 2상으로 변환하는
변압기이다.
3. 가공 전차선로의 집전특성을 높이기 위한 것이 아닌것은?
- ① 등고
- ② 등장력
- ③ 등요
- ④ 등거리
전기철도기사 공부중2022. 6. 22. 10:35삭제
등고 : 전차선의 높이가 일정
등장력 : 전차선의 장력이 일정
등요 : 가요성(탄성)이 균일
4. 가공 전차선로에서 귀선용 레일에 대한 설명으로 옳은 것은?
- ① 교류에서는 부하점(전기차 위치)에서 + 전위가 되고 흡상점에서 - 전위가 된다.
- ② 교류에서는 부하점(전기차 위치)에서 - 전위가 되고 변전소 위치에서 + 전위가 된다.
- ③ 직류에서는 부하점(전기차 위치)에서 + 전위가 되고 흡상점에서 - 전위가 된다.
- ④ 직류에서는 부하점(전기차 위치)에서 - 전위가 되고 변전소 위치에서 + 전위가 된다.
전기철도기사공부중2022. 6. 17. 23:39삭제
레일은 부하점에서 (+) 전위가 되고,
교류의 경우 흡상점에서
직류의 경우 변전소 부근에서 (-) 전위가 된다.
5. 트롤리선에는 가선금구를 매달기 쉽도록 양 측면에 홈이 있는데 홈의 각도는 몇 도로 하는가?
- ① 27
- ② 51
- ③ 78
- ④ 95
전기철도기사 공부중2022. 6. 18. 04:45삭제
표준 트롤리선의 직경은 14mm이고, 단면형상은 약간 오뚜기(또는 눈사람)처럼 생겼다. 좌우 측면에 움푹패어진 홈부분은 행어(또는 이어)가 트롤리선을 끼우기 위해 둔 것이다.
홈 중심에서 하부각+상부각=27+51=78°
6. 가공 전차선로의 구성 요소가 아닌 것은?
- ① 조가선
- ② 부급전선
- ③ 집전장치
- ④ 트롤리선
전기철도기사공부중2022. 6. 18. 01:06삭제
가공 전차선로 구성요소 : 전차선, 조가선, 금구류, 애자, 급전선, 귀선 및 각종 부속설비(지지물에 의해 전차선로에 구성된 것)
집전장치 : 전차 지붕 위에 위치하여 외부로부터 전력을 공급받기 위한 장치
7. 트롤리선의 흐름의 요인 중 가장 거리가 먼 것은?
- ① 선로 구배
- ② 가동브래킷
- ③ 풍량 및 풍속
- ④ 전기차의 형식
전기철도기사 공부중2022. 6. 18. 05:10삭제
흐름요인으로 장력추 중량의 불균형, 선로조건(선로구배, 선로 곡선부), 가동브래킷이 O형 및 I형이 연속하는 경우, 기상조건(풍향, 풍압)에 영향을 받는다.
8. 전차선로의 구비조건에 맞지 않는 것은?
- ① 급전선로가 양호하여야 한다.
- ② 레일면에서의 전차선 높이가 일정하여야 한다.
- ③ 전차선의 장력이 항상 일정하여야 한다.
- ④ 전차선이 일정한 가요성(可撓性)이 있어야 한다.
전기철도기사공부중2022. 6. 18. 01:40삭제
2번 : 등고
3번 : 등장력
4번 : 등요
9. 직류 급전방식의 특징은?
- ① 대용량 중, 장거리 수송에 유리하다.
- ② 에너지 이용률이 높다.
- ③ 전압이 낮아 절연계급을 낮출 수 있다.
- ④ 사고시 선택차단이 용이하다.
전기철도기사 공부중2022. 6. 18. 02:21삭제
전기철도 표준 전압 :
직류 1500V, 교류 25000V
-저전압으로 절연 용이
-전압이 낮아 필요로 하는 출력을 맞추기 위해
전류는 크다 (대전류)
-전류가 크기 때문에 누설전류도 많다
-대전류문제 : 전압강하,변동,손실증가
-누설전류에 의한 전식 발생
-대전류와 사고전류가 비슷하여 선택차단 곤란
10. 일반 전철에서는 이선율을 몇 % 이하로 제한하는가?
- ① 1
- ② 2
- ③ 3
- ④ 4
전기철도기사 공부중2022. 6. 18. 09:00삭제
일반전철 : 3%
고속전철 : 1%
<이선율의 허용한도>
직류구간 : 0.5~1.0%
교류구간 : 3%
이선 : 팬터그래프가 트롤리선에서 떨어지는 것
이선율 : (이선시간/실운전시간)×100
11. 동력분산방식의 더블(double)팬터그래프 전기차가 운행되는 구간의 교류 25㎸ 이상구분용 절연구분장치(dead section)의 길이는 몇 m 가 적정한가? (단, 팬터그래프간의 길이는 13m이며, 여유 길이는 1m로 한다.)
- ① 12
- ② 22
- ③ 32
- ④ 42
전기철도기사 공부중2022. 6. 18. 02:49삭제
<절연구분장치의 길이>
가. 교류 이상 구분용
1) 섹션 통과시 노치 오프를 원칙으로하나 섹션의길이를 정할때는 Notch-0n상태로 통과하는 경우의 아크신도를 고려한다.
2) 아크신도는 실제 현차실험결과 3[mm/kVA]정도이므로 아크에너지를 최대 2600[kVA]로 가정하면 섹션 소요 길이는 2600[kVA] x 3[mm/kVA] =7800[mm/kVA]≒8[m]가 된다.
3) 그리고 양 팬터그래프 혼촉을 방지하기 위한 길이가 필요하므로 전체적인 섹션의 길이는 팬터그래프 간격을 더하여야 한다.
전기적 절연거리 + 팬터그래프 간격= 8[m]+13[m]=21[m]가 된다.
여기에 여유길이 1[m]를 가산.
교류이상 구분용 데드섹션의 길이는 22[m]로 하고 있다.
12. 전차선로의 순환전류 사고방지 대책이 아닌 것은?
- ① 충분한 이격거리
- ② 전기적으로 절연
- ③ 완전하게 접속
- ④ 접지선 설치
전기철도기사 공부중2022. 6. 18. 02:58삭제
-충분한 이격거리(300mm 이상)
-전기적으로 완전 절연
-전위차가 없도록 완전하게 접속(균압접속)
13. 변전소의 순시 최대출력 Z를 표시하는 식은? (단, 1시간 최대출력은 Y[kW], C는 정수이다.)
- ① Z=Y+C√Y
- ② Z=Y+C×Y
- ③ Z=Y-C√Y
- ④

전기철도기사 공부중2022. 6. 18. 03:12삭제
Z=Y+C√Y
Z : 순시최대출력
C : 정수
Y : 1시간 최대출력[kW]
14. 직류 변전설비에서 실리콘 정류기의 정류소자는?
- ① TR
- ② 인버터
- ③ 다이오드
- ④ SCRO
전기철도기사 공부중2022. 6. 18. 08:59삭제
-TR : 변압기(TRansformer)
-인버터 : DC -> AC 변환
-SCRO???(오류인듯)
-SCR : 실리콘 제어 정류기=사이리스터(Silicon Controlled Rectifier)
실리콘 정류기의 구성 소자
(정류암의 소자 구성)
다이오드가 직병렬로 연결되어 정류회로 구성
3S-4P-6A 와 같이 표현(다이오드 소자 3개가 직렬로 4조 병렬로 된 정류암이 6개로 구성 : 다이오드 총갯수 3×4×6=72개)
다이오드 : 전류를 한쪽으로만 흐르게 하고 반대방향으로 흐르지 못하게 하는 것(반파정류, 전파정류등 사용)
15. 직류 급전회로에서 급전구분소를 설치하여 상하선을 접속하면 최대 전압강하가 발생하는 지점은 변전소로부터 변전소 간격의 어느 위치가 되는가?
- ①

- ②

- ③

- ④

전기철도기사 공부중2022. 6. 18. 04:27삭제
급전구분소 상하선 접속
최대전압강하 발생 지점 : 변전소로부터 1/3지점
16. 교류 강체가선방식에 사용하는 브래킷의 종류가 아닌것은?
- ① 가동형 브래킷
- ② 고정형 브래킷
- ③ 단축형 브래킷
- ④ 압축형 브래킷
전기철도기사 공부중2022. 6. 18. 06:09삭제
<R-bar 브래킷>
가동형, 고정형, 단축형
17. 강체 전차선의 고정점 장치의 구성 요소가 아닌 것은?
- ① 중간고정판
- ② 앵커로프
- ③ 종단턴버클
- ④ 회전금구
전기철도기사 공부중2022. 6. 18. 05:19삭제
4번 회전금구 :
R-Bar 브래킷은 H형강 등 지지주에 설치하여 강체전차선을 지지하며 부품의 구성은 꼬리금구, 머리금구, 회전금구, 접지봉연결금구, 장간애자로 구성된다.
18. 피뢰기의 설치장소로 적당하지 않은 것은?
- ① 흡상변압기의 1차측
- ② 변전소내 급전선의 인출설비
- ③ 역구내 비절연보호선(FPW)의 말단
- ④ 터널에 설치하는 급전 케이블의 단말
전기철도기사 공부중2022. 6. 18. 05:37삭제
-발전소, 변전소의 인입구 및 인출구
-변압기의 특.고압측
-특.고압 공급받는 수용장소 인입구
-터널의 케이블 단말
19. 전기철도 전기방식 중 전기차의 설비가 간단하고, 절연이 쉬우며, 절연거리도 짧게 할 수 있어 활선작업을 하기가 쉬워지는 장점을 가진 전기철도는?
- ① 직류 전기철도
- ② 교류 전기철도
- ③ 3상 교류 전기철도
- ④ 교직류 전기철도
전기철도기사 공부중2022. 6. 18. 05:44삭제
직류식
장점 : 전압이 낮아 절연용이(=절연거리 짧게), 활선작업 용이, 절연레벨을 낮출 수 있어 설비 간단.
단점 : 대전류문제
20. 본선의 가공 전차선로에 주로 사용하는 장력조정장치는?
- ① 활차식
- ② 턴버클식
- ③ 스프링식
- ④ 조정스트랩
전기철도기사 공부중2022. 6. 18. 06:14삭제
최근 활차식과 같은 성능을 갖는 신형 스프링식 자동장력조정장치가 개발되어 본선에 사용되고 있다.
자동장력조정장치 : 활차식, 레버식, 스프링식,
도르래식
수동장력조정장치 : 턴버클식, 조정스트랩식
2과목 : 전기철도 구조물공학
21. 전철주 기초로 가장 많이 사용하는 기초는?
- ① 특수기초
- ② 쇄석기초
- ③ 콘크리트 기초
- ④ 근가기초
전기철도기사 공부중2022. 6. 18. 06:44삭제
전철주 : 콘크리트 기초 가장 많이 사용
22. 전선의 하중과 빙설하중을 W1, 풍압하중을 W2라 할 때 합성하중은?
- ① W1 + W2
- ② W1 - W2
- ③ W2 - W1
- ④

전기철도기사 공부중2022. 6. 18. 06:52삭제
합성하중 W=
√( (전선하중+빙설하중)^2 + (풍압하중)^2 )
23. 강구조물의 구조용 강재로 사용되고 있는것은 단면 형상에 따라 분류하는데 그 분류에 속하지 않는 것은?
- ① 후강
- ② 강판
- ③ 평강
- ④ 일반 형강
전기철도기사 공부중2022. 6. 18. 07:07삭제
강구조 재료에는 형강, 봉강, 평강, 강판, 강관이 있다.
강관은 원통의 속이 빈 형상이며, 후강전선관과 박강전선관, 나사없는 전선관으로 분류된다.
24. 외부의 힘 및 벤딩모멘트를 받는 철주 주재의 계산은 단일재의 계산에 준하는데 주재 압축응력도를 구하는 식에 해당되는 것은?(단, P는 주재의 축방향 압축력[㎏f], A는 주재의 한쪽 유효 단면적[㎝2]이다.)
- ①

- ②

- ③

- ④

등록된 댓글이 없습니다.
25. 그림과 같은 구조물의 부정정 차수는?

- ① 1차
- ② 2차
- ③ 3차
- ④ 4차
구피2024. 7. 8. 14:52삭제
2*3+4+3-2*5-1= 2
전기철도기사 공부중2022. 6. 18. 08:05삭제
n=r+m+k-2j-힌지갯수
=6+3+2-2×4-1=2
or
반력의합-3-힌지갯수=부정정차수
6-3-1=2
26. 지름이 0.0165m이고 경간이 50m인 부급 전선에 선로와 직각 방향으로 가해지는 전선의 풍압하중은 약 몇 kgf 이겠는가? (단, 전선은 Al 200mm2이며, 풍압하중의 수직투영면적당 하중은 100kgf/m2으로 계산한다.)
- ① 41.3
- ② 61.9
- ③ 82.5
- ④ 165
전기철도기사 공부중2022. 6. 18. 08:57삭제
100×0.0165×50=82.5
27. 토지나 지형의 조건 등으로 인하여 지선을 설치하지 못할 때 지선 대용으로 설치하는 것은?
- ① 철주
- ② 철탑
- ③ 전주
- ④ 지주
전기철도기사 공부중2022. 6. 18. 09:12삭제
지주 : 지선을 대신하여 지지물이 쓰러지지 않도록 괴는 기둥
철주, 철탑, 전주, 철근 콘크리트주, 목주=지지물
지지물이 쓰러지지 않도록 버티어 세운 줄=지선
28. 정지하고 있는 구조물 또는 부재를 받치는 점을 지점이라 하는데 다음 중 지점의 종류가 아닌 것은?
- ① 회전지점
- ② 이동지점
- ③ 원형지점
- ④ 고정지점
전기철도기사 공부중2022. 6. 18. 09:22삭제
이동지점 : 수직반력만 존재
(이동o, 회전o) - 반력 1개
힌지지점(회전지점) : 수직반력, 수평반력 존재
(이동x, 회전o) - 반력 2개
고정지점 : 수직반력, 수평반력, 모멘트반력
(이동x, 회전x) - 반력 3개
29. 가공 전차선로의 곡선로에서 수평장력 P는 몇 kgf 인가?(단, S: 지지점 간격[m], T: 전선의 장력[㎏f], R: 곡선반경[m]이다.)
- ①

- ②

- ③

- ④

전기철도기사 공부중2022. 6. 18. 09:29삭제
P=ST/R
P : 수평장력
S : 전주 경간
T : 전선 장력
R : 곡선 반경
30. 어떤 물체가 평형상태에 있기 위한 조건은? (단, F 는 힘이고, τ는 토크이다.)
- ①

- ②

- ③

- ④

전기철도기사 공부중2022. 6. 18. 09:45삭제
예) 5<-□->5
어떤 물체에 왼쪽으로 5, 오른쪽으로 5의 힘으로 서로 반대방향으로 주면 힘은 평형을 이루게 되고, 힘의 합력도 0이다.
즉, 360° 모든 방향에 대해 힘이 평형을 이루면 힘의 합력은 0이 된다. 토크도 동일하다.
31. 전기철도의 지지물 중 콘크리트 전주의 장점이 아닌것은?
- ① 수명이 반영구적이다.
- ② 보수가 필요 없다.
- ③ 전주 길이에 제약이 없다.
- ④ 강도를 자유롭게 선택하기가 가능하다.
등록된 댓글이 없습니다.
32. 전기철도 구조물에 외력이 작용하면 구조물은 평형상태를 유지하기 위하여 구조물 내부에서 외력의 크기와 같고 방향이 반대인 저항력이 생기는데 이것을 무엇이라 하는가?
- ① 우력
- ② 응력
- ③ 모멘트
- ④ 힘
전기철도기사 공부중2022. 6. 18. 10:06삭제
우력 : 크기가 같고 방향이 반대인 평행한 한쌍의 힘
응력 : 재료에 압축, 인장, 굽힘, 비틀림 등의 외력을 가했을 때, 그 크기에 대응하여 재료 내에 생기는 저항력
모멘트 : 물체를 회전시키려고 하는 힘의 작용
33. 강도 계산에 사용되는 최대 풍속의 채택 방법이 아닌것은?
- ① 풍속이 발생한 빈도
- ② 풍속에 견디는 응력
- ③ 풍속에 견디는 내력
- ④ 구조물의 건설비
등록된 댓글이 없습니다.
34. 지선과 전주와의 표준 취부 각도는 몇 도인가?
- ① 30˚
- ② 35˚
- ③ 40˚
- ④ 45˚
전기철도기사 공부중2022. 6. 18. 10:16삭제
지선 표준 각도 : 45°
지선 최소 각도 : 30°
35. 열차가 섹숀구간을 통과하는 경우 이상마모가 발생하는데 이에 대한 대책으로 볼 수 없는 것은?
- ① 전차선의 경점(접속점)을 많게 한다
- ② 전차선의 압상 특성을 개선한다
- ③ 전차선의 구배를 작게 한다.
- ④ 전차선의 장력을 일정하게 유지한다.
전기철도기사 공부중2022. 6. 18. 10:25삭제
<전차선 마모 경감 대책>
-전차선의 구배와 구배 변화점을 작게 한다.
-전차선의 국부적인 경점을 적게 한다.
-자동장력조정장치를 설치하여 조가선 및 전차선의 장력을 항상 일정하게 유지한다.
-전차선의 압상량을 균일하게 한다.
-전차선 가로 드럼 감기
-전체적인 마모 방지
-팬터그래프의 집전판을 개량한다.
-전차선에 경도가 높은 합금 재질을 사용한다.
36. 단독 지지주에서 지지점의 높이가 5.4m인 전차선에 126.7㎏f의 수평집중하중이 작용하는 경우 4m 지지점에서의 전단력은 약 몇 ㎏f 인가?
- ① 126.7
- ② 177.4
- ③ 214.7
- ④ 429.5
구피2024. 7. 8. 15:52삭제
4m 지점을 C 라고 하고, 오른쪽B 점을 1.4m(5.4-4) 왼쪽을 A 점의 반력을 구하면
Mc=0, 126.7*1.4 - Ra*4=0--> Ra= 126.7*1.4 / 4 = 44.345
C 점에서 전단력 = 44.345 * 4 = 177.38
전기철도기사 공부중2022. 6. 18. 10:32삭제
수평집중하중=지면과의 경계점에서 전단력
37. 조합 철기둥의 경사재로 산형강을 사용하는 경우는 근개가 몇 cm 이상일 때인가?
- ① 30
- ② 35
- ③ 40
- ④ 45
전기철도기사 공부중2022. 6. 18. 10:58삭제
근개 40cm 이상 조합 철기둥은 경사재를 산형강으로 사용
38. 애자의 전기적 특성에서 가장 높은 전압은?
- ① 건조섬락전압
- ② 유중파괴전압
- ③ 주수섬락전압
- ④ 충격섬락전압
전기철도기사 공부중2022. 6. 18. 11:11삭제
-건조섬락전압(80kV) : 현수애자가 건조한 상태에서 섬락하는 전압
-유중섬락전압(140kV) : 유중은 기름인데 물은 전기가 잘 통하지만 기름은 전기가 잘 통하지 않는다. 기름(절연유) 내에서의 절연파괴전압
-주수섬락전압(50kV) : 현수애자가 젖어 있을 때에 절연파괴전압
-충격섬락전압(125kV) : 번개에 맞았을 때 1.2×50 micro sec동안에 최소한 125kV까지는 견뎌야 된다.
39. 가동브래키트의 종류로서 전차선의 평행개소 구간에 사용하는 타입(Type)은?
- ① I타입
- ② O 타입
- ③ F 타입
- ④ H 타입
전기철도기사 공부중2022. 6. 18. 11:20삭제
I형(In type) : 곡선 당김 금구를 전주 쪽에 설치
O형(Out type) : 곡선 당김 금구를 전주의 반대쪽에 설치
F형(Flat type) : 에어섹션, 에어조인트 등 전차선의 평행개소, 말단개소, 전차선의 무효부분에 설치
40. 지름이 D인 원(圓)의 도심 축에 대한 회전 반지름은?
- ①

- ②

- ③

- ④

전기철도기사 공부중2022. 6. 18. 11:32삭제
r = √(I/A)
= √( (ㅠD^4/64) / (ㅠD^2/4) )
= √( D^2 / 16 )
= D/4
3과목 : 전기자기학
41. 자기회로의 자기저항에 대한 설명으로 옳은 것은?
- ① 자기회로의 길이에 반비례한다.
- ② 자기회로의 단면적에 비례한다.
- ③ 비투자율에 반비례한다.
- ④ 길이의 제곱에 비례하고 단면적에 반비례한다.
등록된 댓글이 없습니다.
42. 내원통의 반지름 a, 외원통의 반지름 b인 동축원통 콘덴서의 내외 원통사이에 공기를 넣었을 때 정전용량이 Co이었다. 내외 반지름을 모두 3배로 하고 공기대신 비유전률 9 인 유전체를 넣었을 경우의 정전용량은?
- ①

- ②

- ③ Co
- ④ 9Co
등록된 댓글이 없습니다.
43. 공간 도체내의 한점에 있어서 자속이 시간적으로 변화하는 경우에 성립하는 식은?
- ①

- ②

- ③

- ④

등록된 댓글이 없습니다.
44. 자유공간 중에서 전위 V=xyz[V]일 때 0≤x≤1, 0≤y≤1, 0≤z≤1인 입방체에 존재하는 정전에너지는 몇 J 인가?
- ①

- ②

- ③

- ④

등록된 댓글이 없습니다.
45. 자계의 세기 H[AT/m], 자속밀도 B[Wb/m2], 투자율 μ[H/m]인 곳의 자계의 에너지 밀도는 몇 J/m3 인가?
- ① BH
- ②

- ③

- ④

등록된 댓글이 없습니다.
46. 쌍극자 모멘트가 M[C.m]인 전기쌍극자에 의한 임의의 점 P의 전계의 크기는 전기쌍극자의 중심에서 축방향과 점 P를 잇는 선분사이의 각이 얼마일 때 최대가 되는가?
- ① 0
- ②

- ③

- ④

등록된 댓글이 없습니다.
47. 반지름 a[m]의 원판형 전기 2중층의 중심축상 x[m]의 거리에 있는 점 P(+전하측)의 전위는 몇 V 인가?(단, 2중층의 세기는 M[C/m]이다.)
- ①

- ②

- ③

- ④

등록된 댓글이 없습니다.
48. 내압이 1㎸이고 용량이 각각 0.01㎌, 0.02㎌, 0.04㎌인 콘덴서를 직렬로 연결했을 때 전체 콘덴서의 내압은 몇 V 인가?
- ① 1750
- ② 2000
- ③ 3500
- ④ 4000
등록된 댓글이 없습니다.
49. 다음 사항 중 옳은 것은?
- ① 텔레비젼(TV)은 전자를 발생시키는 전자총과, 전계를 걸어 전자의 방향을 구부러지게 하는 편향코일과 전자가 면에 부디치면 특정한 색깔을 내는 금속이 칠해져 있는 브라운관을 구비하고 있다.
- ② 자석을 영어로 마그넷트(magnet)라고 하는 이유는 고대 희랍의 마그네시아라고 불리워지는 지방에서 철을 흡인하는 돌이 취해졌기 때문이다.
- ③ 모피(毛皮)로 호박(amber, 琥珀)을 마찰하면 그 에너지를 받아 모피에서 음전기를 띤 자유전자가 호박으로 옮겨져, 모피는 음(-)전기를 띠고 호박은 양전기(+)를 띤다.
- ④ 쿨롱은 전계와 자계의 세기 및 음극선의 구부러지는 정도에서 전자의 비전하(전하량/질량)를 계산하였다.
등록된 댓글이 없습니다.
50. 분극 중 온도의 영향을 받는 분극은?
- ① 전자분극(electronic polarization)
- ② 이온분극(ionic polarization)
- ③ 배향분극(orientational polarization)
- ④ 전자분극과 이온분극
등록된 댓글이 없습니다.
51. 그림과 같은 자기회로에서 R1, R2, R3는 각 회로의 자기 저항이고 Φ1, Φ2, Φ3는 각각 R1, R2, R3 에 투과되는 자속이라 하면 Φ3 의 값은? (단, 이다.)

- ①

- ②

- ③

- ④

등록된 댓글이 없습니다.
52. 철심이 들어있는 환상코일에서 1차코일의 권수가100회일 때 자기인덕턴스는 0.01H이었다. 이 철심에 2차코일을 2000회 감았을 때 2차코일의 자기인덕턴스와 상호인덕턴스는 각각 몇 H 인가?
- ① 자기인덕턴스: 0.02, 상호인덕턴스: 0.01
- ② 자기인덕턴스: 0.01, 상호인덕턴스: 0.02
- ③ 자기인덕턴스: 0.04, 상호인덕턴스: 0.02
- ④ 자기인덕턴스: 0.02. 상호인덕턴스: 0.04
등록된 댓글이 없습니다.
53. 원통좌표계에서 전류밀도 j= Kr2az[A/m2]일 때 암페어의 법칙을 사용하여 자계의 세기 H 를 구하면?(단, K는 상수이다.)
- ①

- ②

- ③

- ④

등록된 댓글이 없습니다.
54. 유전체 역률(tanδ)과 무관한 것은?
- ① 주파수
- ② 정전용량
- ③ 인가전압
- ④ 누설저항
등록된 댓글이 없습니다.
55. 그림에서 ℓ =100cm, S=10cm2, μs=100, N=1000회인 회로에 전류 I=10A를 흘렸을 때 저축되는 에너지는 몇 J인가?

- ① 2πx10-1
- ② 2πx10-2
- ③ 2πx10-3
- ④ 2π
등록된 댓글이 없습니다.
56. 전기력선 방정식이 성립할 수있는 조건 중 틀린 것은?
- ① 점전하 Qi가 일직선상에 있어야 한다.
- ② 점전하 Qi가 시간적으로 불변이어야 한다.
- ③ 상수 C는 주위 매질에 관계없이 일정하다.
- ④ 점전하의 주위공간은 유전률이 같아야 한다.
등록된 댓글이 없습니다.
57. 한변의 길이가 ℓ인 정사각형 도체에 전류 I[A]가 흐르고 있을 때 중심점 P의 자계의 세기는 몇 A/m 인가?

- ① 16πℓ I
- ② 4πℓ I
- ③

- ④

등록된 댓글이 없습니다.
58. 변위전류와 가장 관계가 깊은 것은?
- ① 반도체
- ② 유전체
- ③ 자성체
- ④ 도체
등록된 댓글이 없습니다.
59. 단면적 S, 평균반지름 r, 권회수 N인 토로이드코일에 누설자속이 없는 경우, 자기인덕턴스의 크기는?
- ① 권선수의 자승에 비례하고 단면적에 반비례한다.
- ② 권선수 및 단면적에 비례한다.
- ③ 권선수의 자승 및 단면적에 비례한다.
- ④ 권선수의 자승 및 평균 반지름에 비례한다.
등록된 댓글이 없습니다.
60. 반지름 a인 원형코일의 중심축상 r[m]의 거리에 있는 점 P의 자위는 몇 A 인가?(단, 점 P에 대한 원의 입체각을 ω, 전류를 I[A]라 한다.)
- ①

- ② 4πωI
- ③

- ④

등록된 댓글이 없습니다.
4과목 : 전력공학
61. 동일 전압, 동일 부하, 동일 전력손실의 조건에서 단상 2선식의 소요전선 총량을 100 이라 할 때 3상 3선식의 소요 전선 총량은 얼마인가?
- ① 33
- ② 66
- ③ 70
- ④ 75
등록된 댓글이 없습니다.
62. 각 전력계통을 연락선으로 상호 연결하면 여러가지의 장점이 있다. 옳지 않은 것은?
- ① 각 전력계통의 신뢰도가 증가한다.
- ② 경제급전이 용이하다.
- ③ 단락용량이 적어진다.
- ④ 주파수의 변화가 적어진다.
등록된 댓글이 없습니다.
63. 송전계통의 전력용콘덴서와 직렬로 연결하는 직렬리액터로 제거되는 고조파는?
- ① 제2고조파
- ② 제3고조파
- ③ 제5고조파
- ④ 제7고조파
등록된 댓글이 없습니다.
64. 변압기의 %임피던스가 표준치보다 훨씬 클 때 고려하여야 할 문제점은?
- ① 온도 상승
- ② 여자돌입전류
- ③ 기계적 충격
- ④ 전압변동률
등록된 댓글이 없습니다.
65. 변전소, 발전소 등에 설치하는 피뢰기에 대한 설명 중 옳지 않은 것은?
- ① 피뢰기의 직렬갭은 일반적으로 저항으로 되어 있다.
- ② 정격전압은 상용주파 정현파 전압의 최고 한도를 규정한 순시값이다.
- ③ 방전전류는 뇌충격전류의 파고값으로 표시한다.
- ④ 속류란 방전현상이 실질적으로 끝난 후에도 전력계통에서 피뢰기에 공급되어 흐르는 전류를 말한다.
등록된 댓글이 없습니다.
66. 높이가 같고 경간이 200m인 철탑에 38mm2의 경동연선을 가선할 때 이도(dip)는 몇 m 인가?(단, 경동연선의 인장하중은 1400kg, 안전율은 2.2, 전선 자체의 무게는 0.333kg/m라고 한다.)
- ① 2.24
- ② 2.62
- ③ 3.38
- ④ 3.46
등록된 댓글이 없습니다.
67. 수력발전소의 댐을 설계하거나 저수지의 용량 등을 결정하는데 가장 적당한 것은?
- ① 유량도
- ② 적산유량곡선
- ③ 유황곡선
- ④ 수위유량곡선
등록된 댓글이 없습니다.
68. 전압이 다른 송전선로를 루프로 사용하여 조류제어 할 때 필요한 기기는?
- ① 동기조상기
- ② 3권선변압기
- ③ 분로리액타
- ④ 위상조정변압기
등록된 댓글이 없습니다.
69. 송전선로의 1선 지락고장시, 인접 통신선에 대한 전자 유도장애의 방지대책이 아닌 것은?
- ① 전력선과 통신선과의 병행거리 단축
- ② 전력선과 통신선과의 이격거리 단축
- ③ 고속도계전기 및 차단기를 채용
- ④ 도전률이 높은 도체로 가공지선 설치
등록된 댓글이 없습니다.
70. 소호리액터 접지방식에서 10%정도의 과보상을 한다고 할때 사용되는 탭의 크기로 일반적인 것은?
- ①

- ②

- ③

- ④

등록된 댓글이 없습니다.
71. 차단기에서 차단시간을 옳게 설명한 것은?
- ① 고장발생에서부터 완전 소호시간까지의 합이다.
- ② 개극되는 시간을 말한다.
- ③ 아크시간을 말한다.
- ④ 개극과 아크시간을 합한 것을 말하며 약 3‾8사이클이다.
등록된 댓글이 없습니다.
72. 각 수용가의 수용설비용량이 50kW, 100kW, 80kW, 60kW, 150kW이며 각각의 수용률이 0.6, 0.6, 0.5, 0.5, 0.4 일때 부하의 부등률이 1.3 이라면 변압기 용량은 약 몇 kVA가 필요한가? (단, 평균 부하역률은 80%라고 한다.)
- ① 142
- ② 165
- ③ 183
- ④ 211
등록된 댓글이 없습니다.
73. 3상선로에서 회로의 상규선간전압을 Vn[kV], 계통의 전전원의 용량에 상당하는 전류를 In[A], Vn과 In을 기준으로하여 %로 나타낸 %임피던스를 %Zs라 할 때 3상 단락 전류를 계산하는 식은?
- ①

- ②

- ③

- ④

등록된 댓글이 없습니다.
74. 화력발전소에서 재열기로 가열하는 것은?
- ① 석탄
- ② 급수
- ③ 공기
- ④ 증기
등록된 댓글이 없습니다.
75. 어느 수용가가 당초에 지상역률 80%로 60kW의 부하를 사용하고 있었는데 새로이 지상역률 60%, 40kW의 부하를 증가해서 사용하게 되었다. 이때 전력용콘덴서로 합성역률을 90%로 개선하려고 한다면 전력용콘덴서의 소요 용량은 약 몇 kVA 가 필요한가?
- ① 40
- ② 50
- ③ 60
- ④ 70
등록된 댓글이 없습니다.
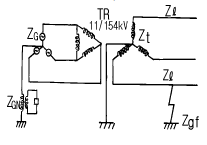
76. 그림과 같은 전력계통의 154kV 송전선로에서 고장 지락 임피던스 Zgf를 통해서 1선 지락고장이 발생되었을 때 고장점에서 본 영상 %임피던스는? (단, 그림에 표시한 임피던스는 모두 동일 용량 즉, 100MVA기준으로 환산한 %임피던스임)

- ① Z0=Zℓ +Zt+Zgf+ZG+ZGN
- ② Z0=Zℓ +Zt+ZG
- ③ Z0=Zℓ +Zt+Zgf
- ④ Z0=Zℓ +Zt+3Zgf
등록된 댓글이 없습니다.
77. 단도체 대신 같은 단면적의 복도체를 사용할 때 옳은 것은?
- ① 인덕턴스가 증가한다.
- ② 코로나 개시전압이 높아진다.
- ③ 선로의 작용정전용량이 감소한다.
- ④ 전선 표면의 전위경도를 증가시킨다.
등록된 댓글이 없습니다.
78. 변전소에 사용되는 축전지의 용량 계산에 고려되지 않는 사항은?
- ① 충전률
- ② 방전전류
- ③ 보수율
- ④ 용량환산시간
등록된 댓글이 없습니다.
79. 전력회로에 사용되는 차단기의 차단용량을 결정할 때 이용되는 것은?
- ① 예상 최대 단락전류
- ② 회로에 접속되는 전부하 전류
- ③ 계통의 최고전압
- ④ 회로를 구성하는 전선의 최대 허용전류
등록된 댓글이 없습니다.
80. 주상변압기의 2차측 접지공사는 어느 것에 의한 보호를 목적으로 하는가?

- ① 2차측 단락
- ② 1차측 접지
- ③ 2차측 접지
- ④ 1차측과 2차측의 혼촉
등록된 댓글이 없습니다.